GM Service Manual Online
For 1990-2009 cars only

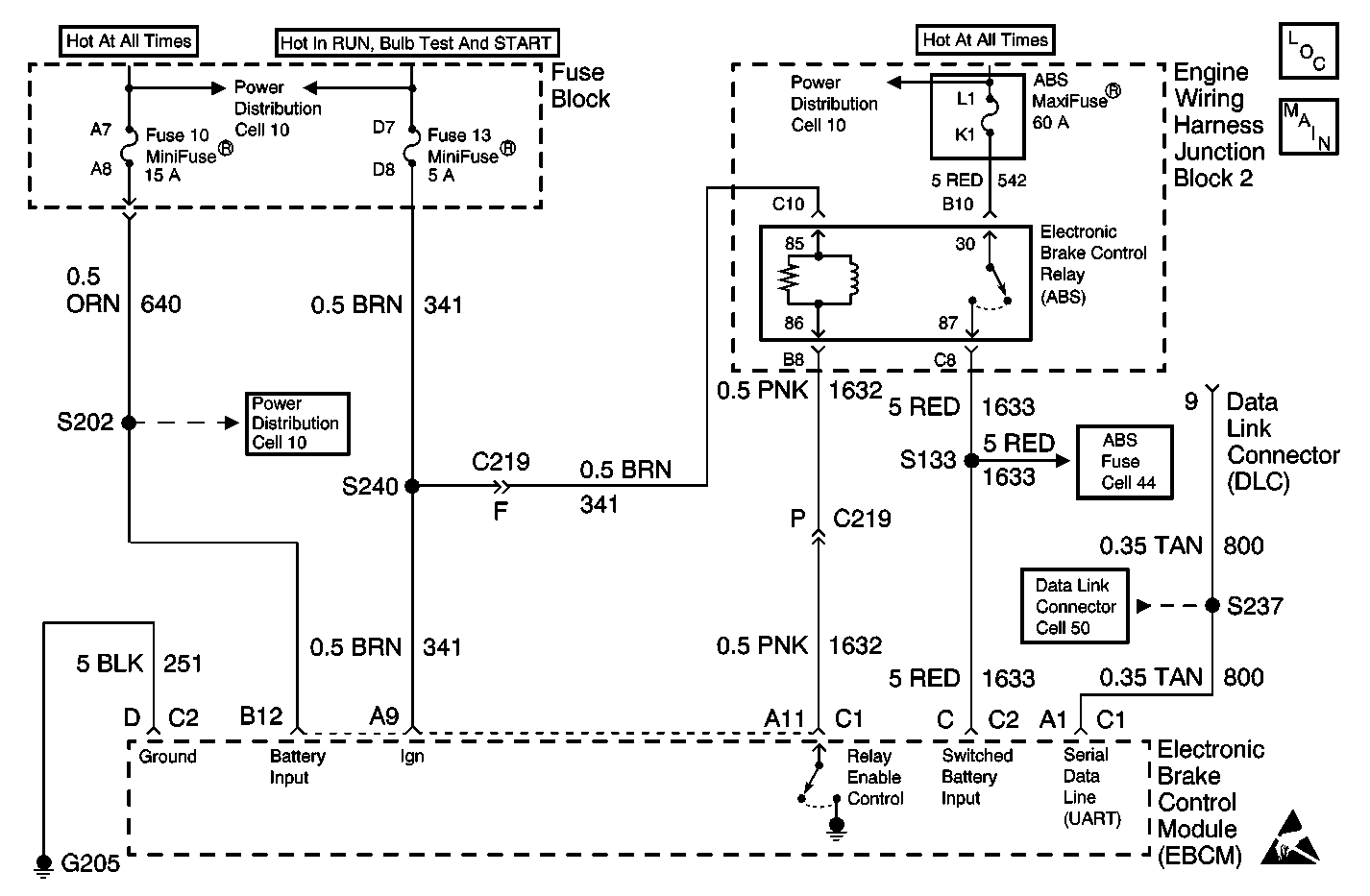
Object Number: 364086  Size: MF
ABS Components
Antilock Brake System Schematics
Power Distribution Schematics
Power Distribution Schematics
Power Distribution Schematics
Antilock Brake System Schematics
Data Link Connector Schematics
Handling Electrostatic Discharge Sensitive Parts Notice

Circuit Description

DTC C1237 detects high vehicle voltage levels prior to any required motor movement (initialization or ABS). If excessive voltage exists, demagnetization of the motor magnets may occur. Demagnetization of the motor magnets would eventually affect or eliminate ABS performance.

Conditions for Setting the DTC

DTC C1237 can set only if the vehicle's speed is greater than 5 km/h (3 mph).

A malfunction exists if the switched battery voltage is greater than 17.1 volts.

Action Taken When the DTC Sets

    • A malfunction DTC stores.
    • The ABS disables.
    • The amber ABS warning indicators turn on.

Conditions for Clearing the DTC

    • The condition responsible for setting the DTC no longer exists and the Scan Tool Clear DTCs function is used.
    • 100 drive cycles pass with no DTCs detected.

Diagnostic Aids

The following conditions may cause an intermittent malfunction:

    • A poor connection
    • Rubbed-through wire insulation
    • A broken wire inside the insulation

Use the enhanced diagnostic function of the Scan Tool in order to measure the frequency of the malfunction. Refer to the Scan Tool manual or Scan Tool Diagnostics located in this section for the procedure.

Thoroughly inspect any circuitry that may be causing the intermittent complaint for the following conditions:

    • Backed out terminals
    • Improper mating
    • Improperly formed or damaged terminals
    • Poor terminal-to-wiring connections
    • Physical damage to the wiring harness

Important: Zero the J 39200 test leads before making any resistance measurements.

Step

Action

Value(s)

Yes

No

1

Was the Diagnostic System Check performed?

--

Go to Step 2

Go to Diagnostic System Check - ABS

2

  1. Start the engine.
  2. Install a scan tool.
  3. Select Data List on the scan tool.
  4. Select Battery Voltage on the scan tool.
  5. Run the engine at approximately 2000 RPM and monitor the voltage.

Is the voltage less than or equal to the specified voltage?

16 V

Go to Step 6

Go to Step 3

3

  1. Turn the ignition switch to the OFF position.
  2. Disconnect the Electronic Brake Control Relay.
  3. Start the engine.
  4. Use the J 39200 in order to measure the voltage between the Electronic Brake Control Relay harness connector terminal C10 and ground.
  5. Run the engine at approximately 2000 RPM and monitor the voltage.

Is the voltage less than or equal to the specified range?

16 V

Go to Step 4

Go to Diagnostic System Check - Engine Electrical in Engine to inspect the charging system operation

4

  1. Turn the ignition switch to the OFF position.
  2. Reconnect the Electronic Brake Control Relay.
  3. Drive the vehicle at a speed above 5 km/h (3 mph).
  4. Use the scan tool in order to look for DTCs.

Does DTC C1237 set as a current DTC?

--

Go to Step 5

Go to Step 6

5

Replace the EBCM. Refer to Electronic Brake Control Module Replacement .

Is the repair complete?

--

Go to Diagnostic System Check - ABS

--

6

Is the malfunction intermittent or is not present at this time?

--

Go to Diagnostic Aids

--