GM Service Manual Online
For 1990-2009 cars only
Makes
🢒
Chevrolet
🢒
1999
🢒
Malibu
🢒 Cell 23: Transaxle Controls (Solenoids)
Cell 23: Transaxle Controls (Solenoids)
Cell 23: Transaxle Controls (Solenoids)
Engine Controls Component Views
Powertrain Control Module Description
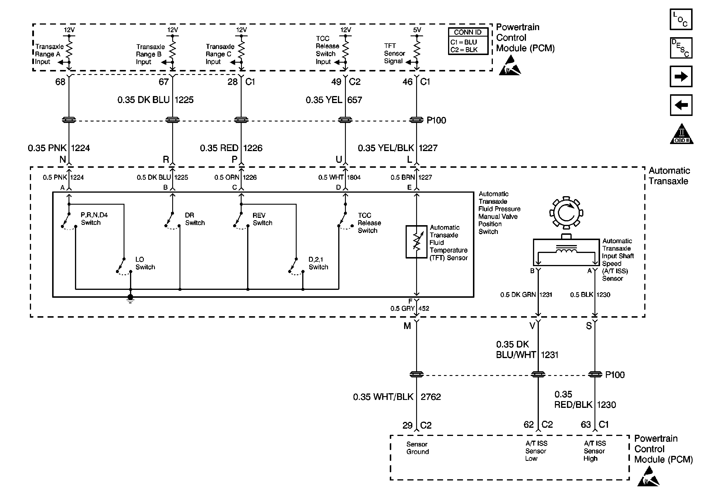
Cell 23: Transaxle Controls (Switches)
Cell 23: VSS and Cruise Control
OBD II Symbol Description Notice
Cell 10: PWR WNDWS, CRUISE SW, CRUISE, SUNROOF, HVAC BLOWER
Cell 10: IGN MOD, BU LMP/BTSI, PCM IGN, F/P INJR, A/C BFC, AUTO TRANS, ABS IGN Fuses
Power and Grounding Connector End Views
Power and Grounding Connector End Views
Handling ESD Sensitive Parts Notice
Handling ESD Sensitive Parts Notice