GM Service Manual Online
For 1990-2009 cars only
Makes
🢒
Chevrolet
🢒
1999
🢒
Malibu
🢒 Cell 23: VSS and Cruise Control
Cell 23: VSS and Cruise Control
Cell 23: VSS and Cruise Control
Engine Controls Component Views
Powertrain Control Module Description
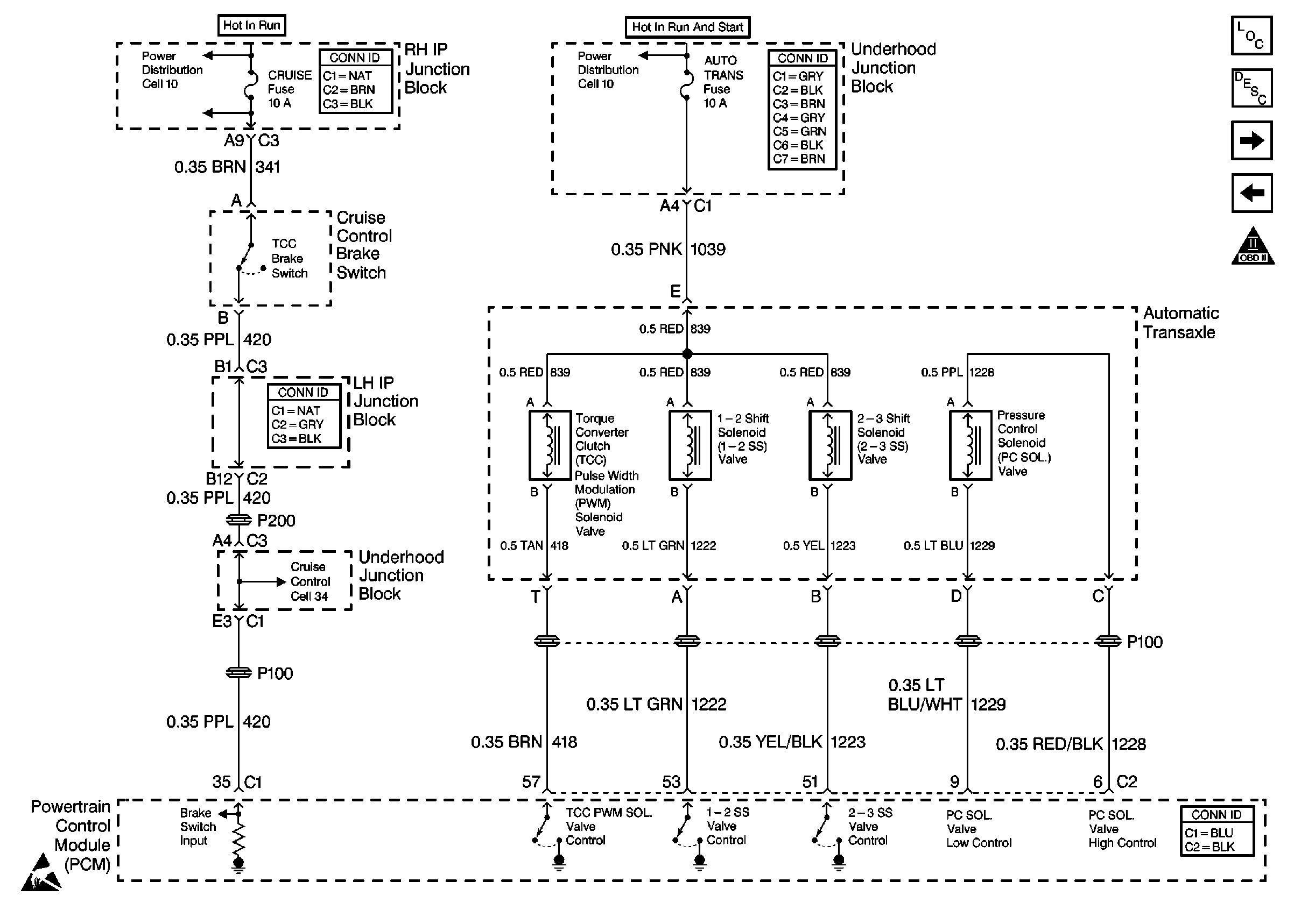
Cell 23: Transaxle Controls (Solenoids)
Cell 23: IAC Valve, Generator, TR and Oil Switches
OBD II Symbol Description Notice
Power Distribution Schematics
Power and Grounding Connector End Views
Power and Grounding Connector End Views
Handling ESD Sensitive Parts Notice