GM Service Manual Online
For 1990-2009 cars only
Makes
🢒
Chevrolet
🢒
2000
🢒
Malibu
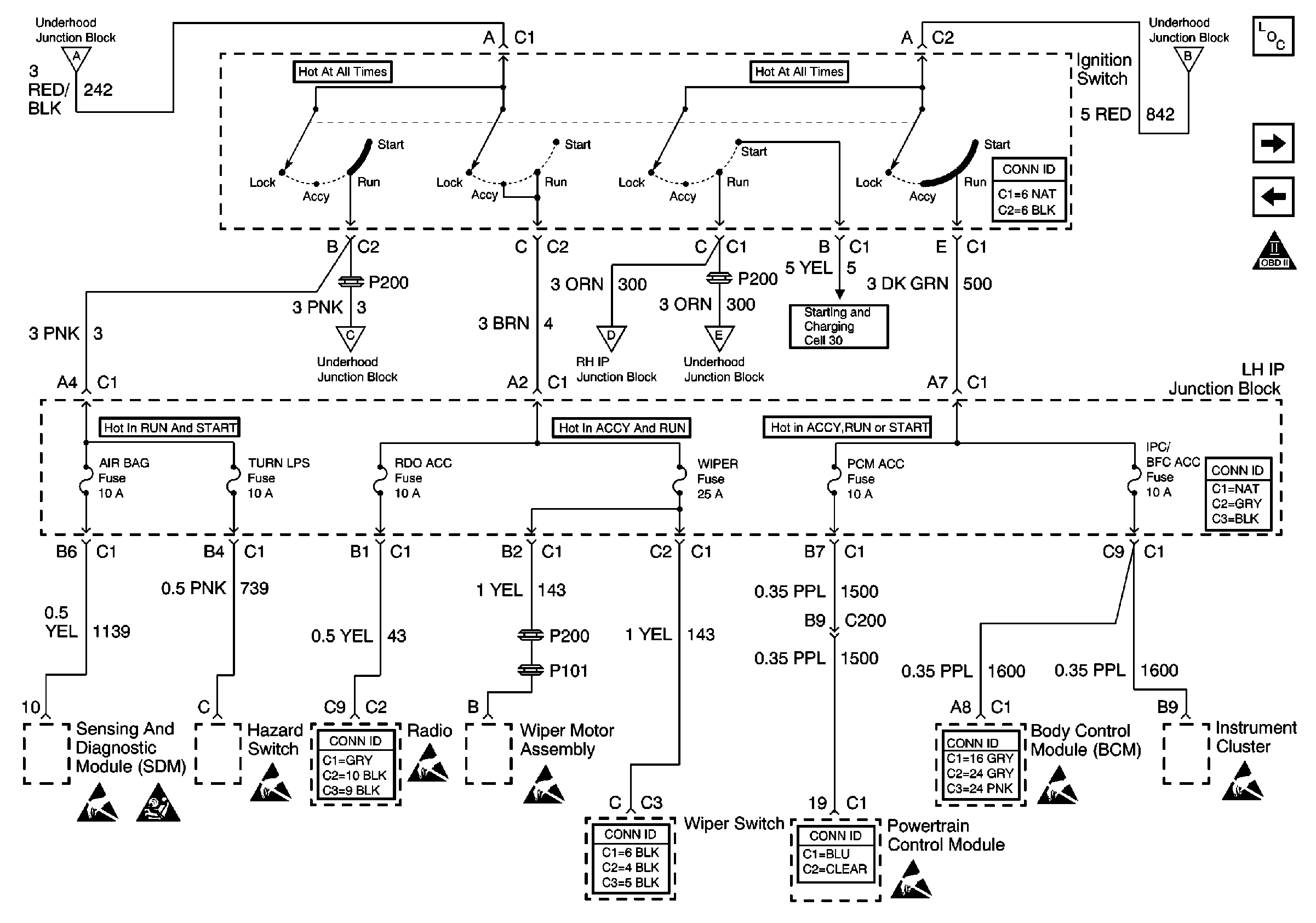
🢒 IGN Switch, AIR BAG, TURN LPS, RDO ACC, WIPER, PCM ACC and IPC/BFCACC Fuses
IGN Switch, AIR BAG, TURN LPS, RDO ACC, WIPER, PCM ACC and IPC/BFCACC Fuses
IGN Switch, AIR BAG, TURN LPS, RDO ACC, WIPER, PCM ACC and IPC/BFC ACC Fuses
Power and Grounding Components
HTR A/C IGN and ERLS Fuses
IGN SW - BATT 1 and IGN SW - BATT 2 Fuses
OBD II Symbol Description Notice
SIR Handling Caution
Handling ESD Sensitive Parts Notice
Handling ESD Sensitive Parts Notice
Handling ESD Sensitive Parts Notice
Handling ESD Sensitive Parts Notice
Handling ESD Sensitive Parts Notice
IGN SW - BATT 1 and IGN SW - BATT 2 Fuses
IGN SW - BATT 1 and IGN SW - BATT 2 Fuses
IGN MOD, B/U LMP, PCM IGN, F/P INJR, A/C BFC, AUTO TRANS and ABS IGN Fuses
PWR WINDWS, CRUISE SW, CRUISE, SUNROOF and HVAC BLOWER Fuses
HTR A/C IGN and ERLS Fuses
Handling ESD Sensitive Parts Notice
Handling ESD Sensitive Parts Notice
Handling ESD Sensitive Parts Notice