GM Service Manual Online
For 1990-2009 cars only
Makes
🢒
Chevrolet
🢒
2000
🢒
Malibu
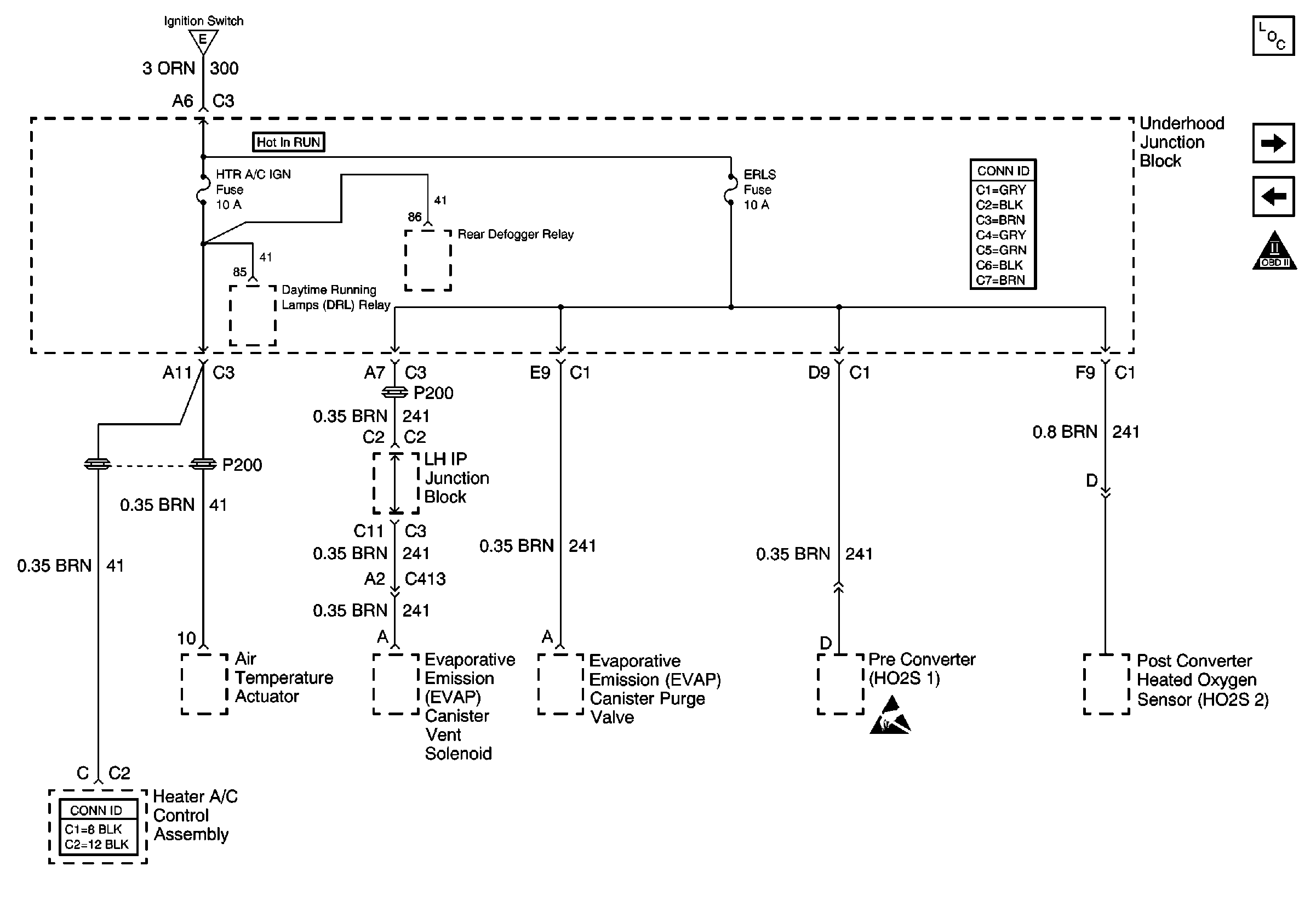
🢒 HTR A/C IGN and ERLS Fuses
HTR A/C IGN and ERLS Fuses
HTR A/C IGN and ERLS Fuses
Power and Grounding Components
IGN MOD, B/U LMP, PCM IGN, F/P INJR, A/C BFC, AUTO TRANS and ABS IGN Fuses
IGN Switch, AIR BAG, TURN LPS, RDO ACC, WIPER, PCM ACC and IPC/BFCACC Fuses
OBD II Symbol Description Notice
IGN Switch, AIR BAG, TURN LPS, RDO ACC, WIPER, PCM ACC and IPC/BFCACC Fuses
Handling ESD Sensitive Parts Notice