GM Service Manual Online
For 1990-2009 cars only
Makes
🢒
Chevrolet
🢒
2000
🢒
Malibu
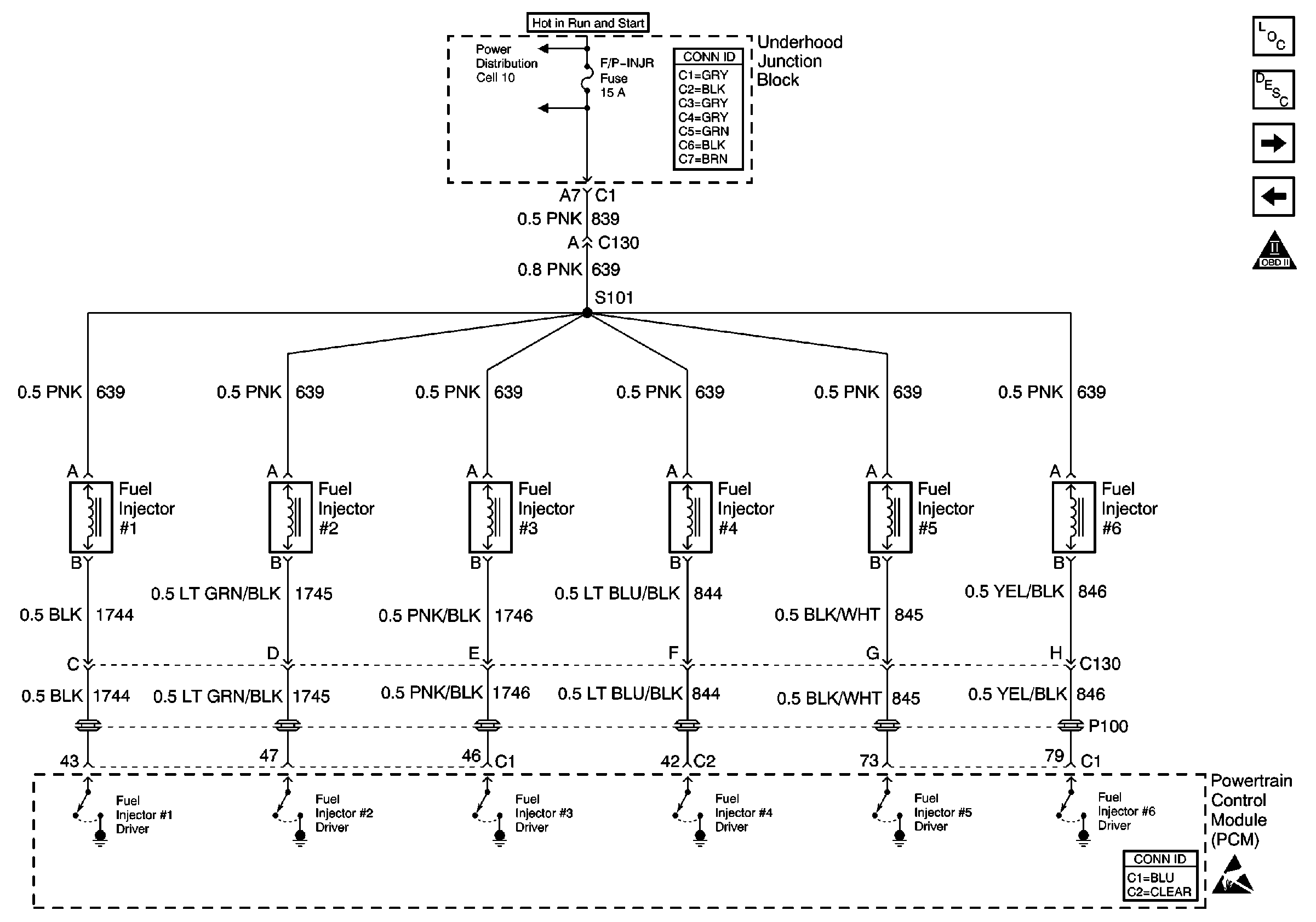
🢒 Power and Injectors
Power and Injectors
Power and Injectors
Engine Controls Components
Fuel Supply Component Description
Cruise Control and VSS
Power, Ground, HO2S 1, and HO2S 2
OBD II Symbol Description Notice
Handling ESD Sensitive Parts Notice
Power Distribution Schematics