GM Service Manual Online
For 1990-2009 cars only
Makes
🢒
Chevrolet
🢒
2007
🢒
Malibu
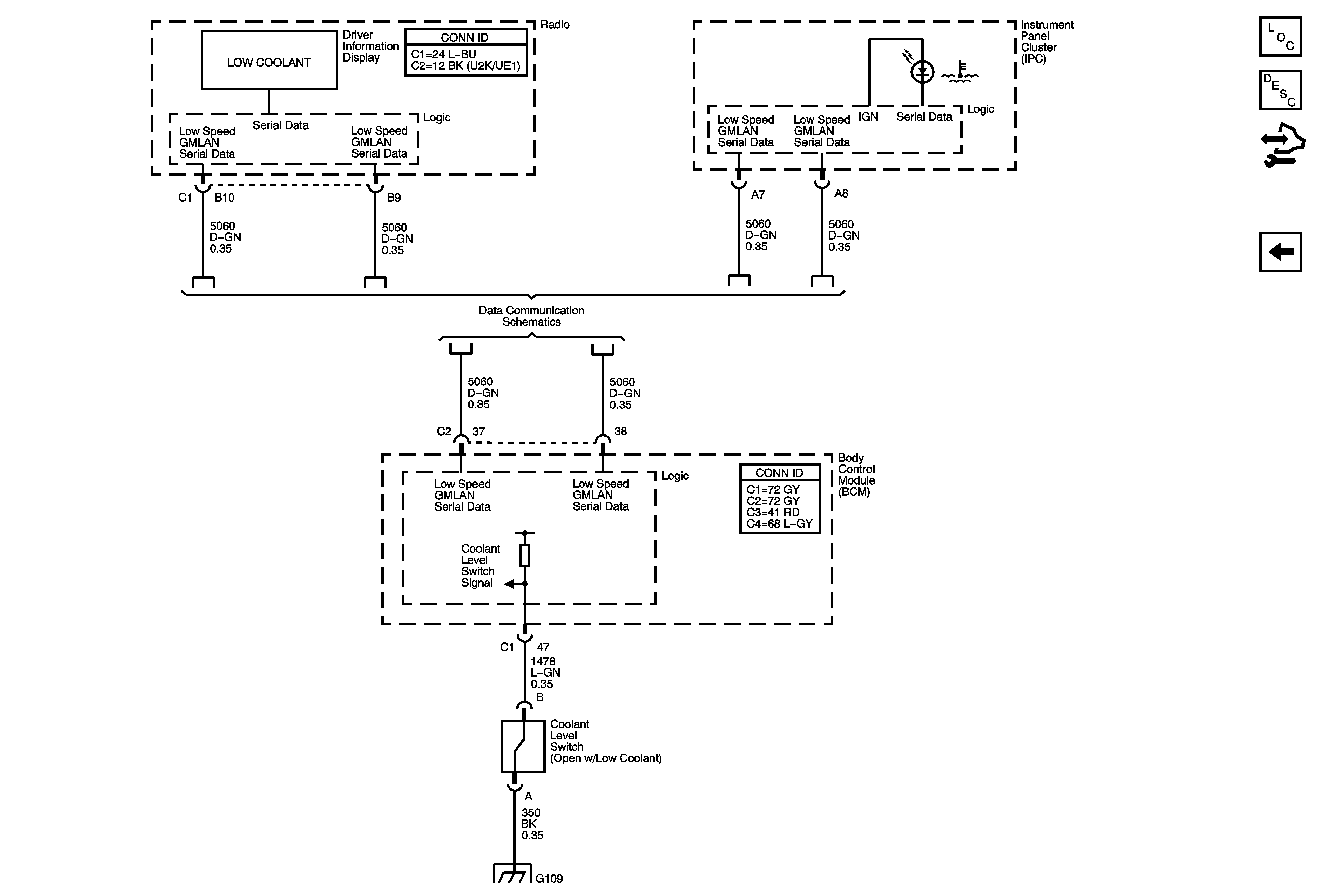
🢒 Coolant Indicators
Coolant Indicators
Coolant Indicators
Master Electrical Component List
Cooling System Description and Operation
Control Module References
Cooling Fans
Low Speed Serial Data
G109