GM Service Manual Online
For 1990-2009 cars only

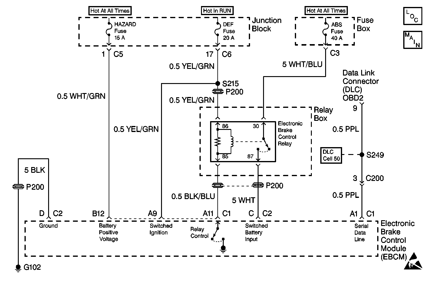
Object Number: 424149  Size: MF
ABS Components
Cell 44: Power, Ground and Indicators
Handling ESD Sensitive Parts Notice

Circuit Description

Serial data is transmitted/received by the EBCM through terminal A1. The EBCM is supplied switched ignition voltage through connector C1 terminal A9 and battery feed voltage through connector C1 terminal B12. The EBCM ground is provided through connector C2 terminal D.

Diagnostic Aids

Communication with the EBCM is not possible when excessive resistance exists in the following components:

    • The ground
    • The power supply circuits

If communication with the EBCM is not possible, perform the following actions:

    • Verify that the EBCM ground connection is good.
    • Verify that no excessive resistance exists in any of the power supply circuits.

Test Description

  1. This test checks for high resistance in the EBCM ground circuit.

  2. This test checks for an open in the EBCM battery feed circuit.

  3. This test checks for an open or high resistance in the EBCM switched ignition circuit.

  4. This test checks for an open or high resistance in the EBCM serial data circuit.

  5. This test checks for a short to ground in the EBCM serial data circuit.

  6. This test checks for a short to ground in the EBCM battery feed circuit.

  7. This test checks for a short to ground in the EBCM switched ignition circuit.

No Communication With EBCM

Step

Action

Value(s)

Yes

No

Important: Zero the J 39200 test leads before making any resistance measurements. Refer to the J 39200 user's manual.

1

Was the ABS Diagnostic System Check performed?

--

Go to Step 2

Go to Diagnostic System Check - ABS

2

Verify the correct connection of the Scan Tool to the DLC.

Is connection of the Scan Tool to the DLC correct?

--

Go to Step 3

Go to Step 13

3

  1. Turn the ignition switch to the OFF position.
  2. Remove and inspect the HAZARD Fuse (15A).

Is the fuse open?

--

Go to Step 11

Go to Step 4

4

  1. Install the HAZARD fuse (15A).
  2. Remove the DEF Fuse (20A).

Is the fuse open?

--

Go to Step 12

Go to Step 5

5

  1. Install the DEF Fuse (20A).
  2. Disconnect the EBCM connector.
  3. Use the J 39200 in order to measure the resistance between the EBCM connector terminal D and ground.

Is the resistance within the specified range?

0-2 ohms

Go to Step 6

Go to Step 18

6

  1. Disconnect the EBCM connector.
  2. Use the J 39200 in order to measure voltage between the EBCM connector terminal B12 and ground.

Is the voltage equal to or greater than the specified voltage?

10 V

Go to Step 7

Go to Step 19

7

  1. Turn the ignition switch to the ON position.
  2. Do not start the engine.

  3. Use the J 39200 in order to measure voltage between the EBCM connector terminal A9 and ground.

Is the voltage equal to or greater than the specified voltage?

10 V

Go to Step 8

Go to Step 20

8

  1. Turn the ignition switch to the OFF position.
  2. Use the J 39200 in order to measure the resistance between the EBCM connector terminal A1 and the DLC terminal 9.

Is the resistance within the specified range?

0-2 ohms

Go to Step 9

Go to Step 21

9

Use the J 39200 in order to measure the resistance between the EBCM connector terminal A1 and ground.

Is the resistance within the specified range?

OL

(Infinite)

Go to Step 10

Go to Step 22

10

Inspect the EBCM connector for the following conditions:

    • Poor terminal contact
    • Terminal corrosion
    • Damaged terminals

Are there signs of poor terminal contact, terminal corrosion, or damaged terminals?

--

Go to Step 23

Go to Step 24

11

  1. Disconnect the EBCM connector.
  2. Use the J 39200 in order to measure the resistance between the EBCM connector terminal B12 and ground.

Is the resistance within the specified range?

OL

(Infinite)

Go to Step 14

Go to Step 15

12

  1. Disconnect the EBCM connector.
  2. Use the J 39200 in order to measure the resistance between the EBCM connector terminal A9 and ground.

Is the resistance within the specified range?

OL

(Infinite)

Go to Step 16

Go to Step 17

13

Disconnect and reconnect the Scan Tool in order to ensure a good connection.

Is the Scan Tool correctly connected?

--

Go to Diagnostic System Check - ABS

--

14

Replace the HAZARD Fuse.

Is the repair complete?

--

Go to Diagnostic System Check - ABS

--

15

Repair the short to ground in the WHT/GRN wire between the junction block and the EBCM and replace the HAZARD Fuse. Refer to Wiring Repairs in Wiring Systems.

Is the repair complete?

--

Go to Diagnostic System Check - ABS

--

16

Replace the DEF Fuse.

Is the repair complete?

--

Go to Diagnostic System Check - ABS

--

17

Repair the short to ground in the YEL/GRN wire between the junction block and the EBCM and replace the DEF Fuse. Refer to Wiring Repairs in Wiring Systems.

Is the repair complete?

--

Go to Diagnostic System Check - ABS

--

18

Repair the open or high resistance in the BLK wire between the EBCM and G102. Refer to Wiring Repairs in Wiring Systems.

Is the repair complete?

--

Go to Diagnostic System Check - ABS

--

19

Repair the open or high resistance in the WHT/GRN wire between the junction block and the EBCM. Refer to Wiring Repairs in Wiring Systems.

Is the repair complete?

--

Go to Diagnostic System Check - ABS

--

20

Repair the open or high resistance in the YEL/GRN wire between the junction block and the EBCM. Refer to Wiring Repairs in Wiring Systems.

Is the repair complete?

--

Go to Diagnostic System Check - ABS

--

21

Repair the open or high resistance in the PPL wire between the Data Link Connector (DLC) and the EBCM. Refer to Wiring Repairs in Wiring Systems.

Is the repair complete?

--

Go to Diagnostic System Check - ABS

--

22

Repair the short to ground in the PPL wire between the Data Link Connector (DLC) and the EBCM. Refer to Wiring Repairs in Wiring Systems.

Is the repair complete?

--

Go to Diagnostic System Check - ABS

--

23

Replace the terminals or the connectors that exhibit the following conditions:

    • Poor terminal contact
    • Terminal corrosion
    • Damaged terminals

Is the repair complete?

--

Go to Diagnostic System Check - ABS

--

24

Replace the EBCM. Refer to Electronic Brake Control Module Replacement .

Is the repair complete?

--

Go to Diagnostic System Check - ABS

--