GM Service Manual Online
For 1990-2009 cars only
Makes
🢒
Chevrolet
🢒
1999
🢒
Monte Carlo
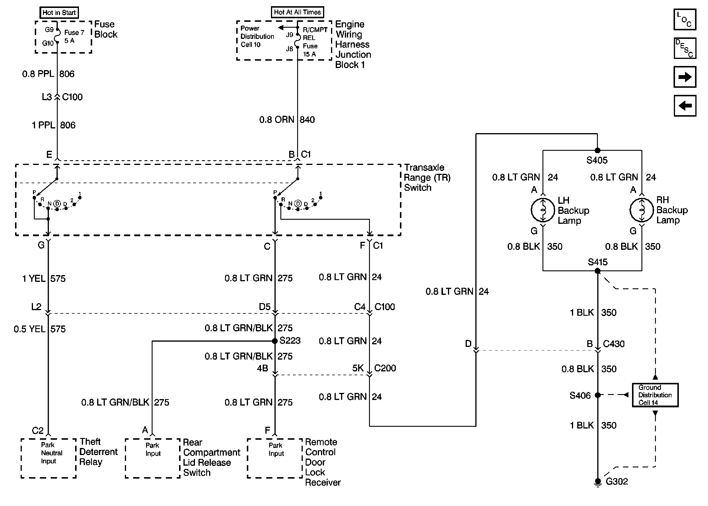
🢒 Cell 20: Engine Data Sensors-Transaxle Range Switch: PCM, Backup Lamps and Theft Deterrent
Cell 20: Engine Data Sensors-Transaxle Range Switch: PCM, Backup Lamps and Theft Deterrent
Cell 20: Engine Data Sensors-Tranaxle Range Switch: PCM, Backup Lamps and Theft Deterrent
Engine Controls Components
Powertrain Control Module Description
Cell 10: Generator, Starter, Fusible Links, MaxiFuse® 1, 2 and4
Cell 20: Engine Data Sensors-A/C Compressor Controls
Cell 20: Engine Data Sensors-Transaxle Range Switch: PCM Inputs
Cell 14: G302 (2 of 2)