GM Service Manual Online
For 1990-2009 cars only
Makes
🢒
Chevrolet
🢒
1999
🢒
Monte Carlo
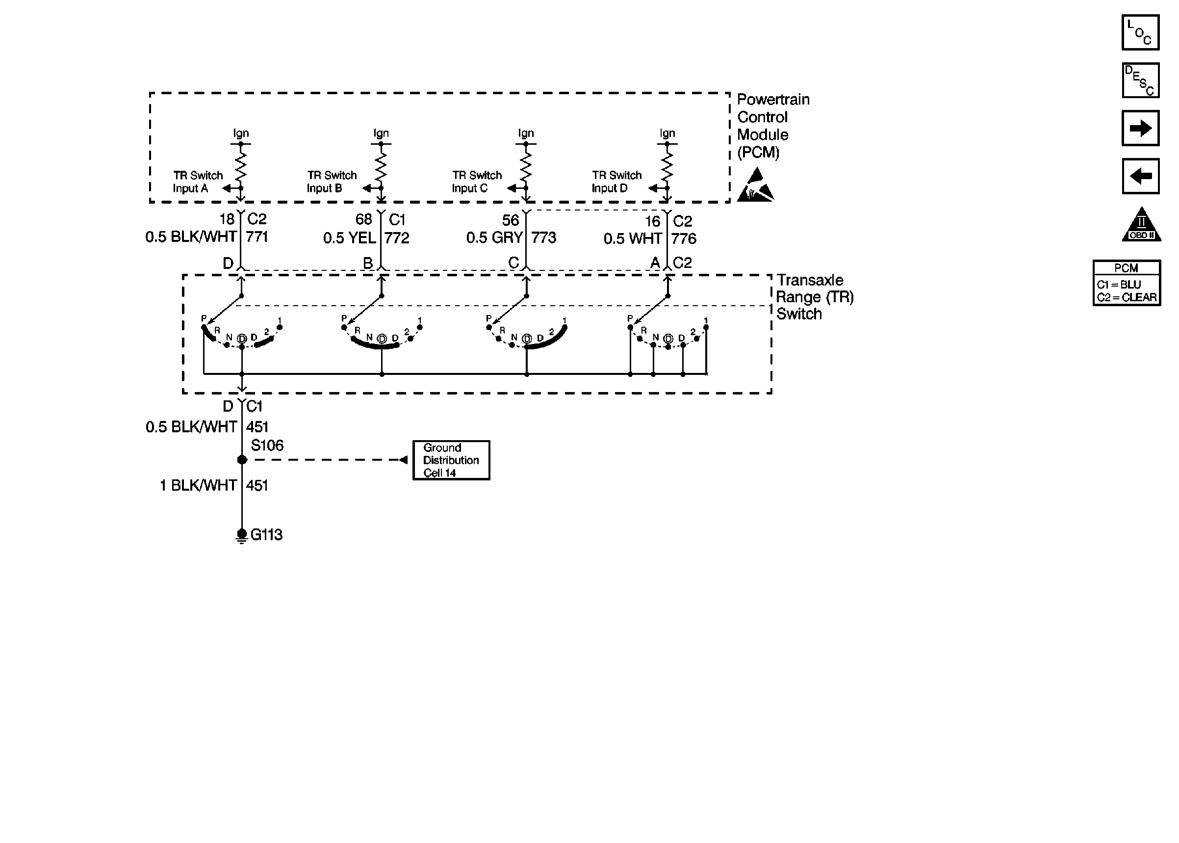
🢒 Cell 20: Engine Data Sensors-Transaxle Range Switch: PCM Inputs
Cell 20: Engine Data Sensors-Transaxle Range Switch: PCM Inputs
Cell 20: Engine Data Sensors-Transaxle Range Switch: PCM Inputs
Engine Controls Components
Powertrain Control Module Description
Handling ESD Sensitive Parts Notice
Cell 14: G111 and G113
Cell 20: Engine Data Sensors-Transaxle Range Switch: PCM, Backup Lamps and Theft Deterrent
Cell 20: Engine Data Sensors-Automatic Transaxle TCC Switch
OBD II Symbol Description Notice