GM Service Manual Online
For 1990-2009 cars only
Makes
🢒
Chevrolet
🢒
2008
🢒
Optra
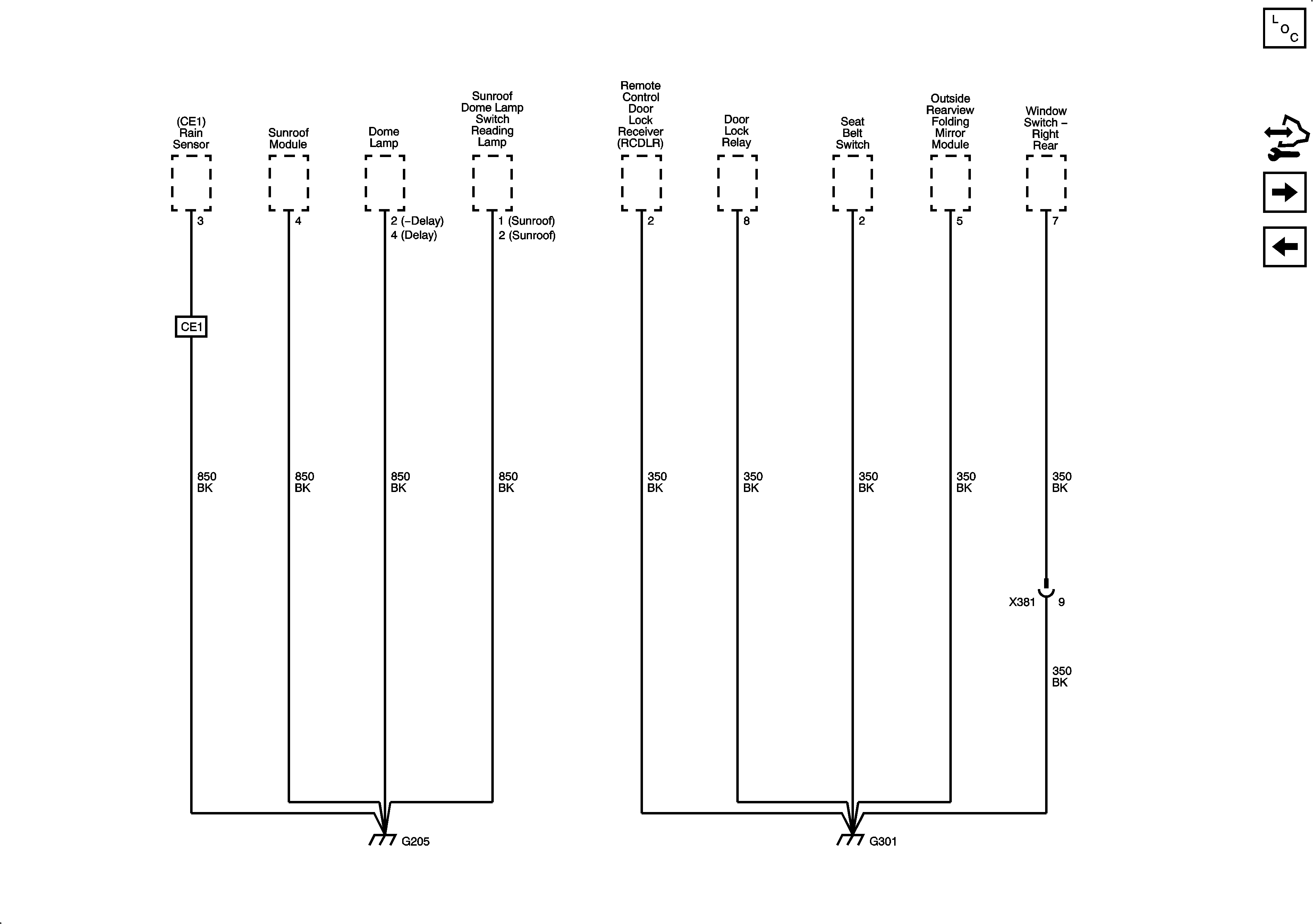
🢒 G205, G301
G205, G301
G205, G301
Master Electrical Component List
Control Module References
G302
G204, G301