GM Service Manual Online
For 1990-2009 cars only
Makes
🢒
Chevrolet
🢒
2000
🢒
Prizm
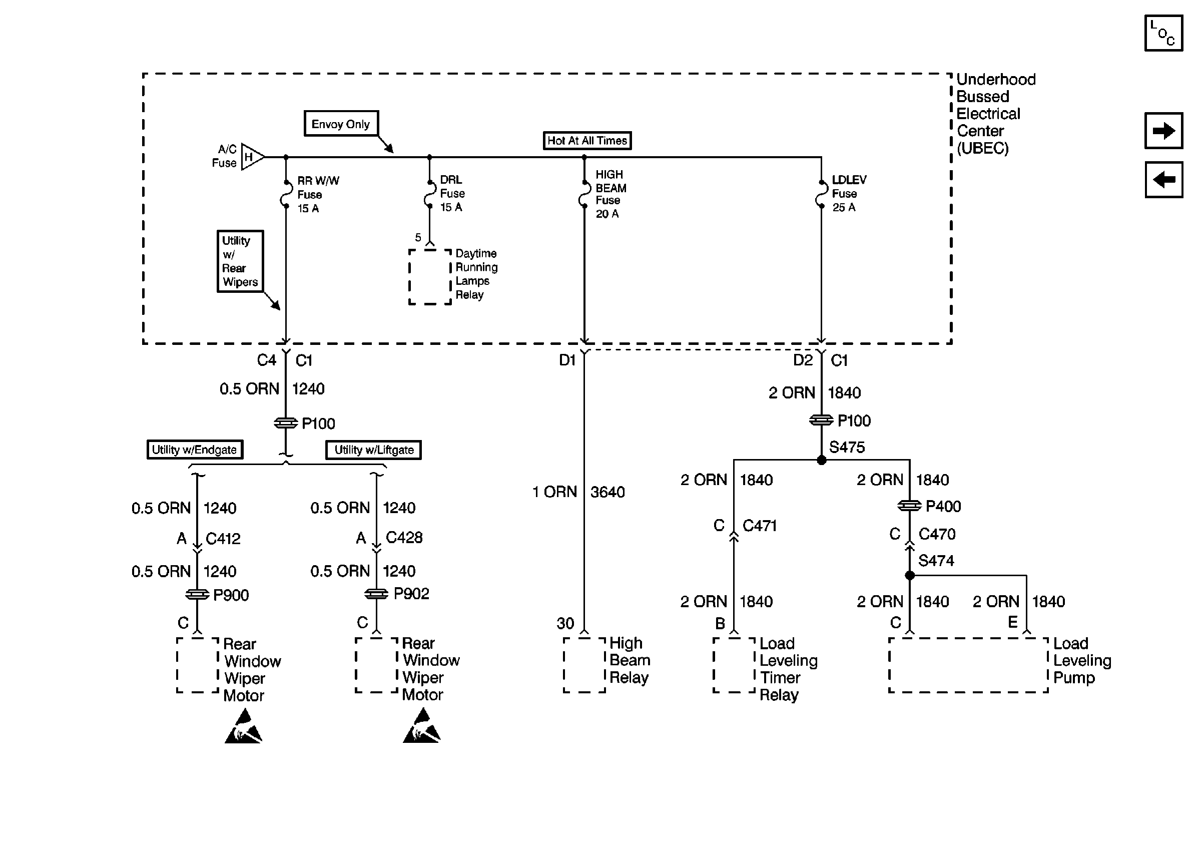
🢒 Cell 10: RR W/W, DRL, HIGH BEAM, and LDLEV Fuses
Cell 10: RR W/W, DRL, HIGH BEAM, and LDLEV Fuses
Cell 10: RR W/W, DRL, HIGH BEAM, and LDLEV Fuses
Power and Grounding Components
Cell 10: AUX PWR, RDO BATT, MIR/LKS, HDLP SW, AMPF, PWR LKS, CTSY LP, and CIGAR LTR Fuses
Cell 10: HVAC, PARK LP, HAZ LP, STOP LP, FOG LP, ECM B, and A/C Fuses
Cell 10: HVAC, PARK LP, HAZ LP, STOP LP, FOG LP, ECM B, and A/C Fuses
Handling ESD Sensitive Parts Notice
Handling ESD Sensitive Parts Notice