GM Service Manual Online
For 1990-2009 cars only
Makes
🢒
Chevrolet
🢒
2000
🢒
Prizm
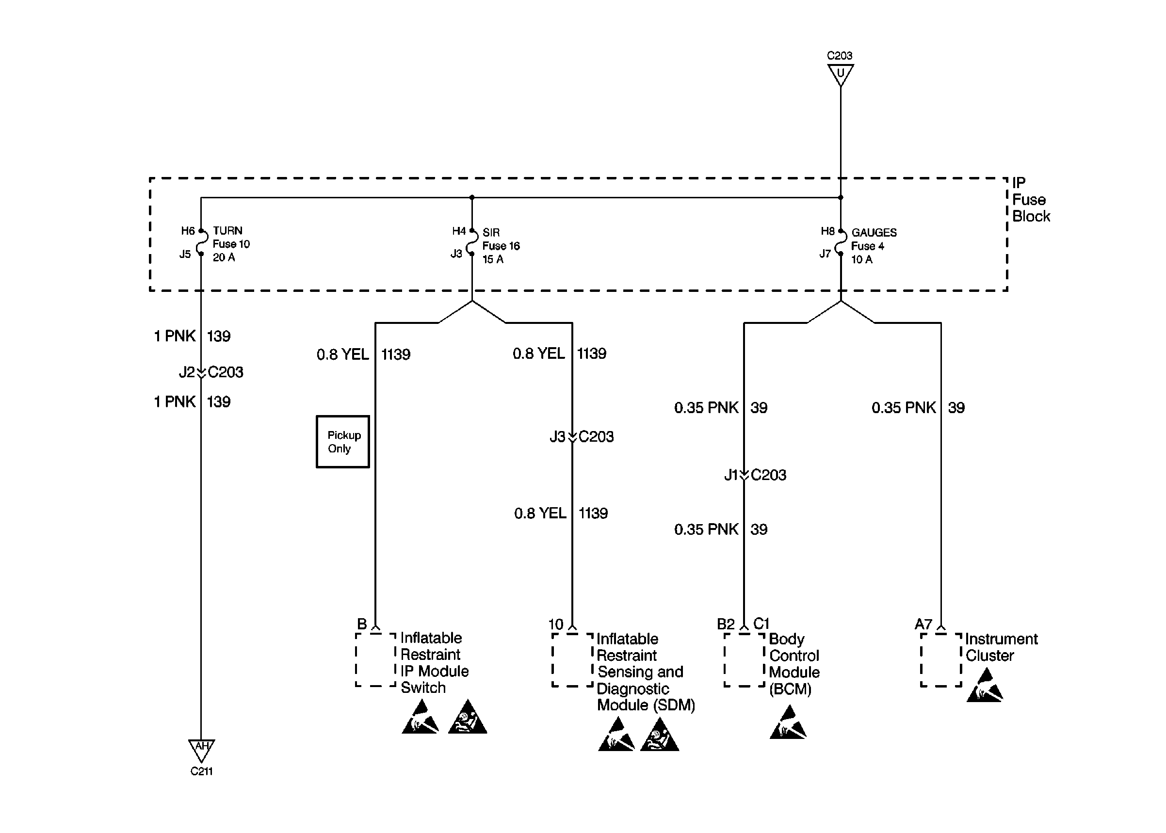
🢒 Cell 10: TURN, SIR and GAUGES Fuses
Cell 10: TURN, SIR and GAUGES Fuses
Cell 10: TURN, SIR and GAUGES Fuses
Power and Grounding Components
Cell 10: CRANK Fuse
Cell 10: UBEC
Cell 10: Ignition Switch
Cell 10: Hazard Switch and Turn Signal Lamp Flasher
Handling ESD Sensitive Parts Notice
SIR Handling Caution
Handling ESD Sensitive Parts Notice
SIR Handling Caution
Handling ESD Sensitive Parts Notice
Handling ESD Sensitive Parts Notice