GM Service Manual Online
For 1990-2009 cars only
Makes
🢒
Chevrolet
🢒
2000
🢒
Prizm
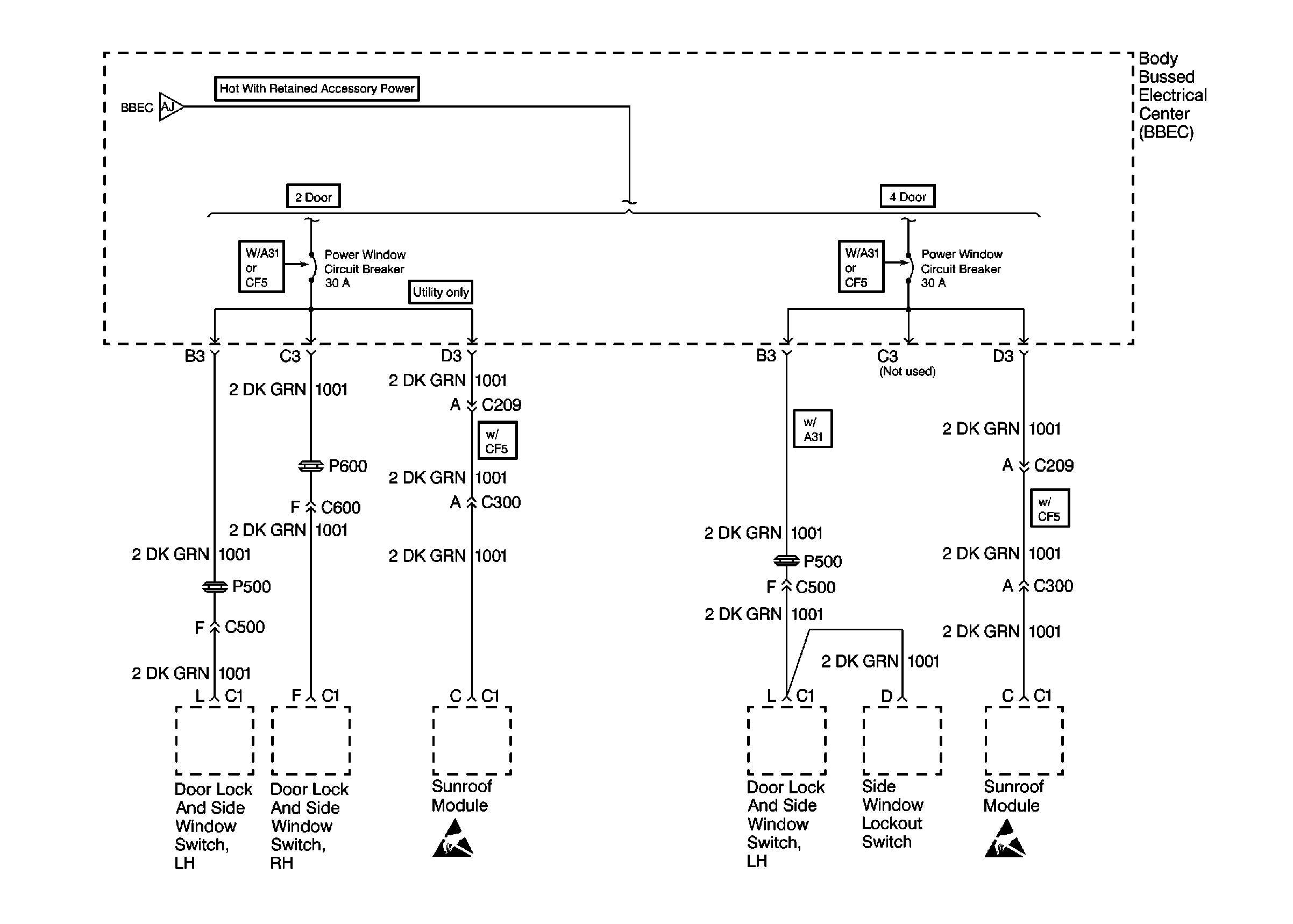
🢒 Cell 10: BBEC, Power Window Circuit Breaker
Cell 10: BBEC, Power Window Circuit Breaker
Cell 10: BBEC, Power Window Circuit Breaker
Power and Grounding Components
Cell 10: IP Fuse Block and S290
Cell 10: RDO IGN, RR WPR, and FRT WPR Fuses
Cell 10: RDO IGN, RR WPR, and FRT WPR Fuses
Handling ESD Sensitive Parts Notice
Handling ESD Sensitive Parts Notice