GM Service Manual Online
For 1990-2009 cars only
Makes
🢒
Chevrolet
🢒
2000
🢒
Prizm
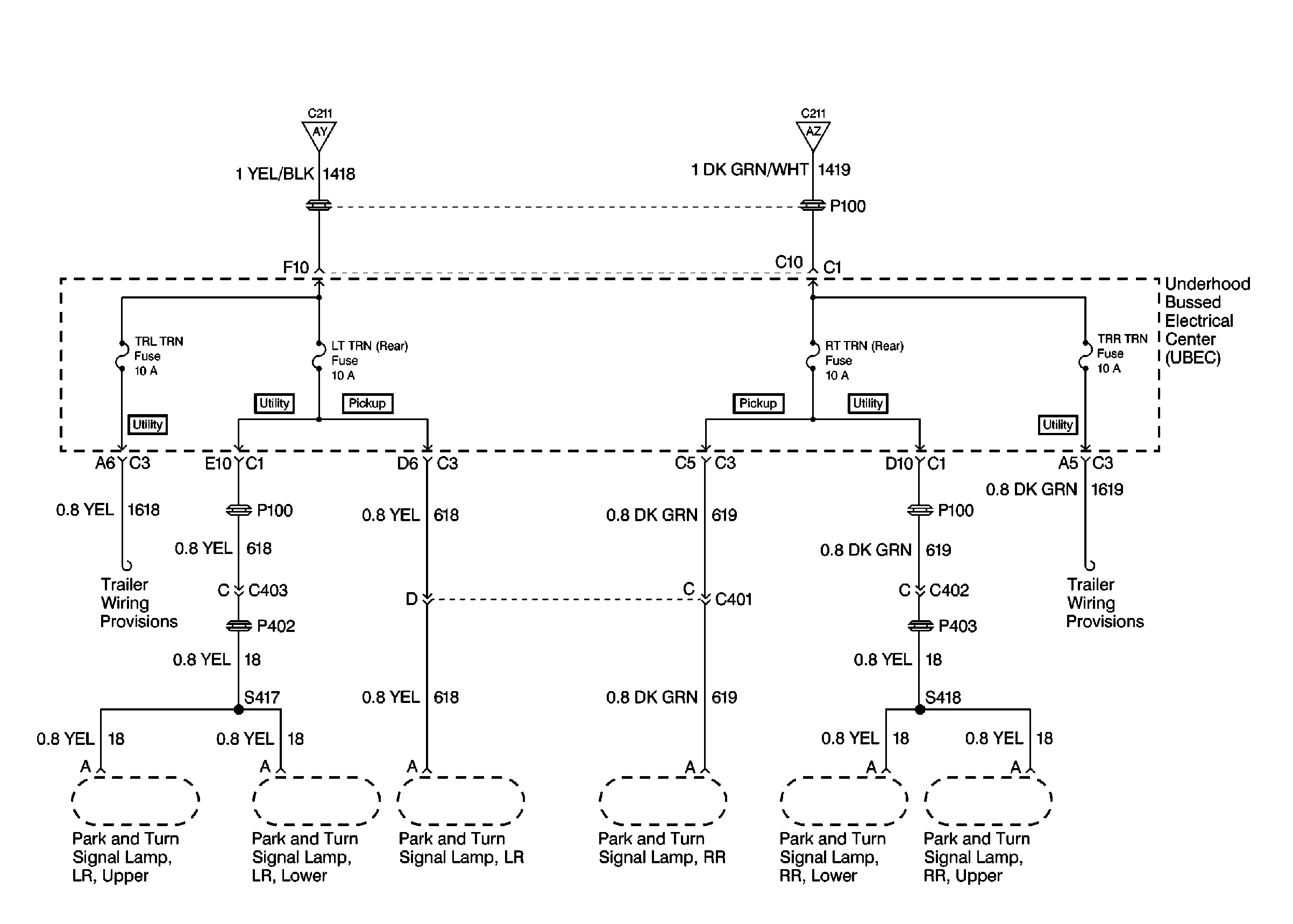
🢒 Cell 10: TRL TRN, LT TRN, RT TRN, and TRR TRN Fuses
Cell 10: TRL TRN, LT TRN, RT TRN, and TRR TRN Fuses
Cell 10: TRL TRN, LT TRN, RT TRN, and TRR TRN Fuses
Power and Grounding Components
Cell 10: VECHMSL and TRCHMSL Fuses
Cell 10: LT TURN and RT TURN Fuses
Cell 10: Hazard Switch and Turn Signal Switch
Cell 10: Hazard Switch and Turn Signal Switch