GM Service Manual Online
For 1990-2009 cars only
Makes
🢒
Chevrolet
🢒
2000
🢒
Prizm
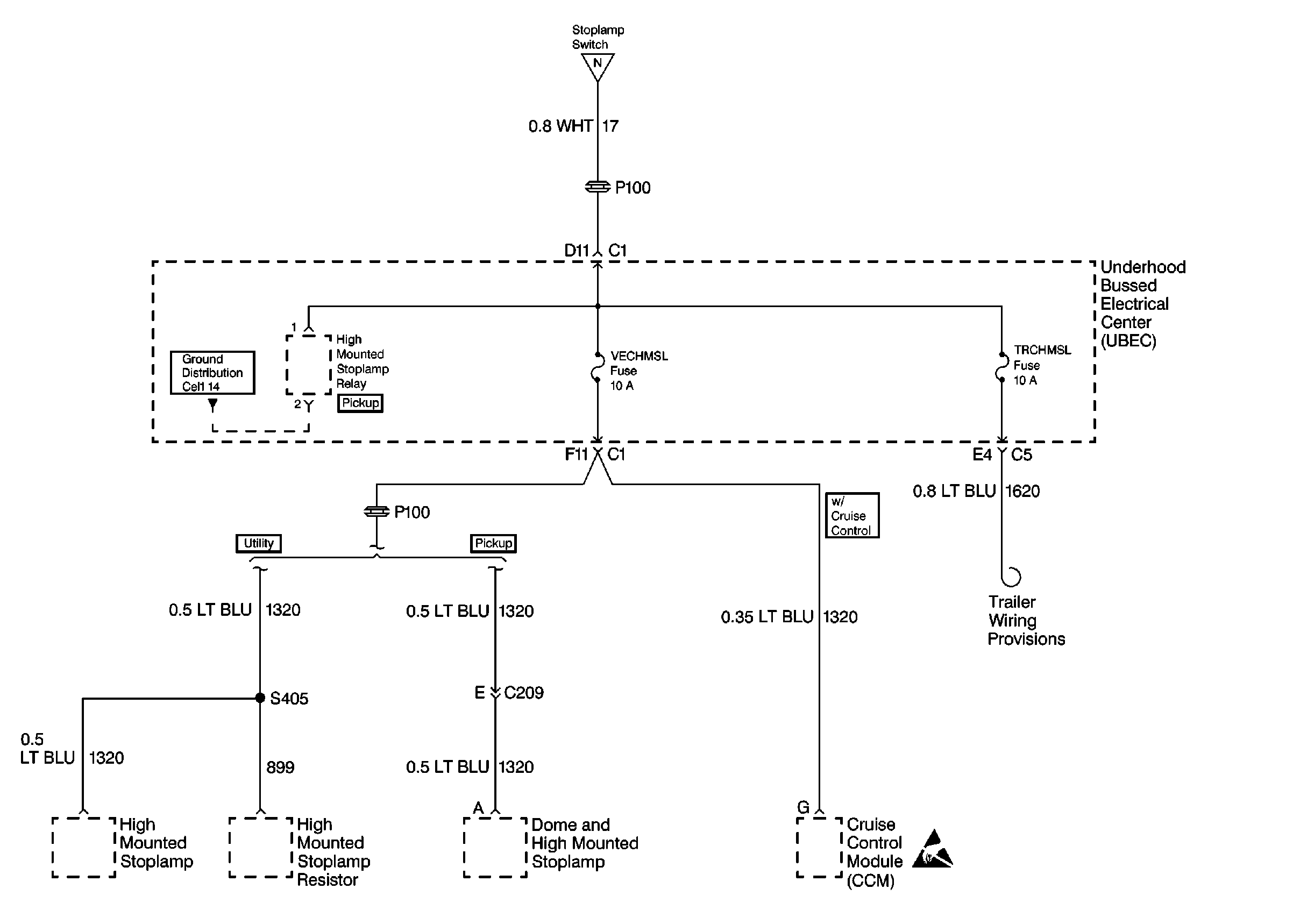
🢒 Cell 10: VECHMSL and TRCHMSL Fuses
Cell 10: VECHMSL and TRCHMSL Fuses
Cell 10: VECHMSL and TRCHMSL Fuses
Power and Grounding Components
Cell 10: TRL TRN, LT TRN, RT TRN, and TRR TRN Fuses
Cell 10: HVAC, PARK LP, HAZ LP, STOP LP, FOG LP, ECM B, and A/C Fuses
Handling ESD Sensitive Parts Notice
Ground Distribution Schematics