GM Service Manual Online
For 1990-2009 cars only
Makes
🢒
Chevrolet
🢒
2000
🢒
Prizm
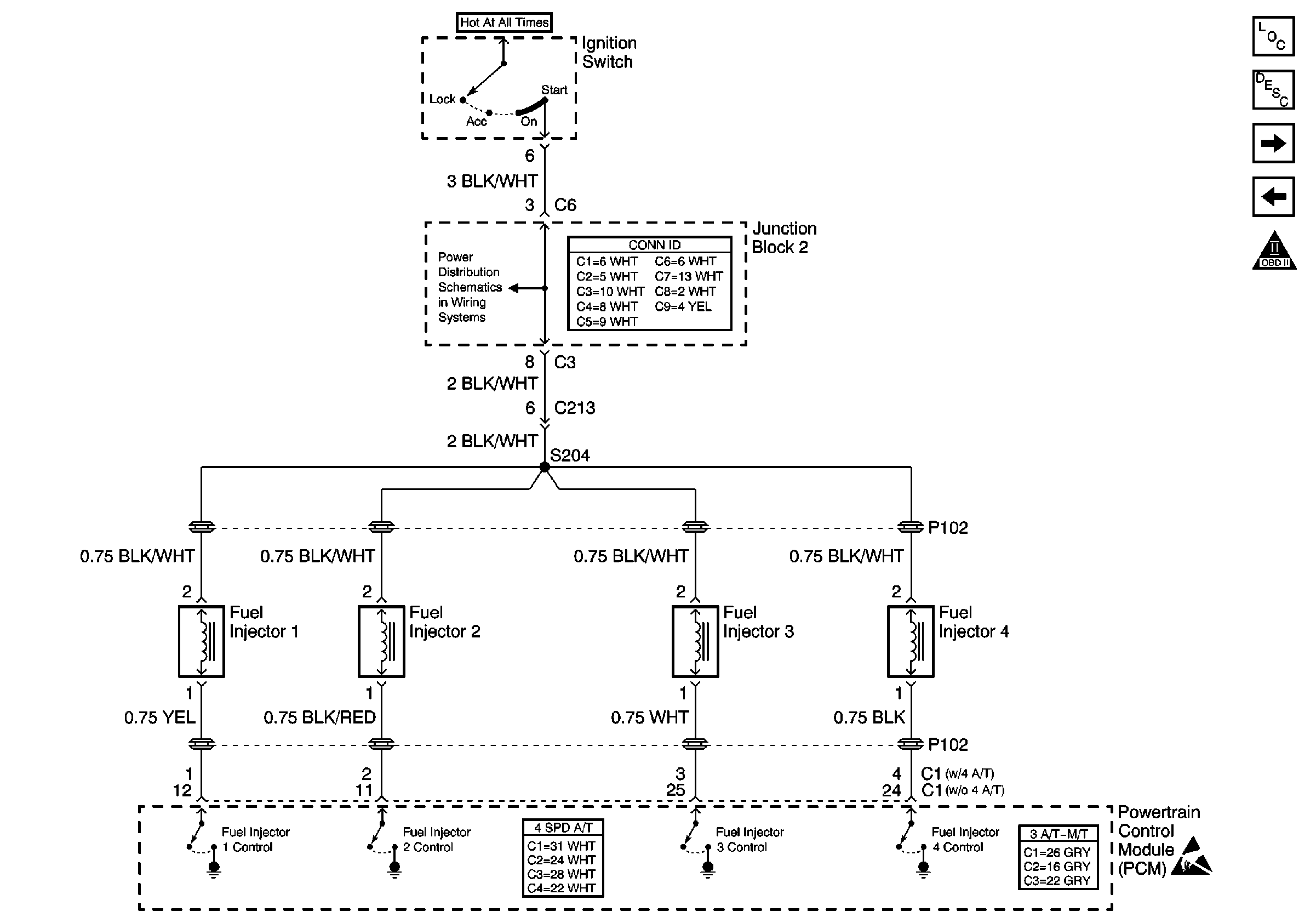
🢒 Fuel Injectors
Fuel Injectors
Fuel Injectors
Engine Controls Components
Engine Data Sensors (1 of 2)
Fuel Supply System
OBD II Symbol Description Notice
Handling ESD Sensitive Parts Notice
Cell 10: Ignition Switch, IGN Fuse, and ST Fuse