GM Service Manual Online
For 1990-2009 cars only

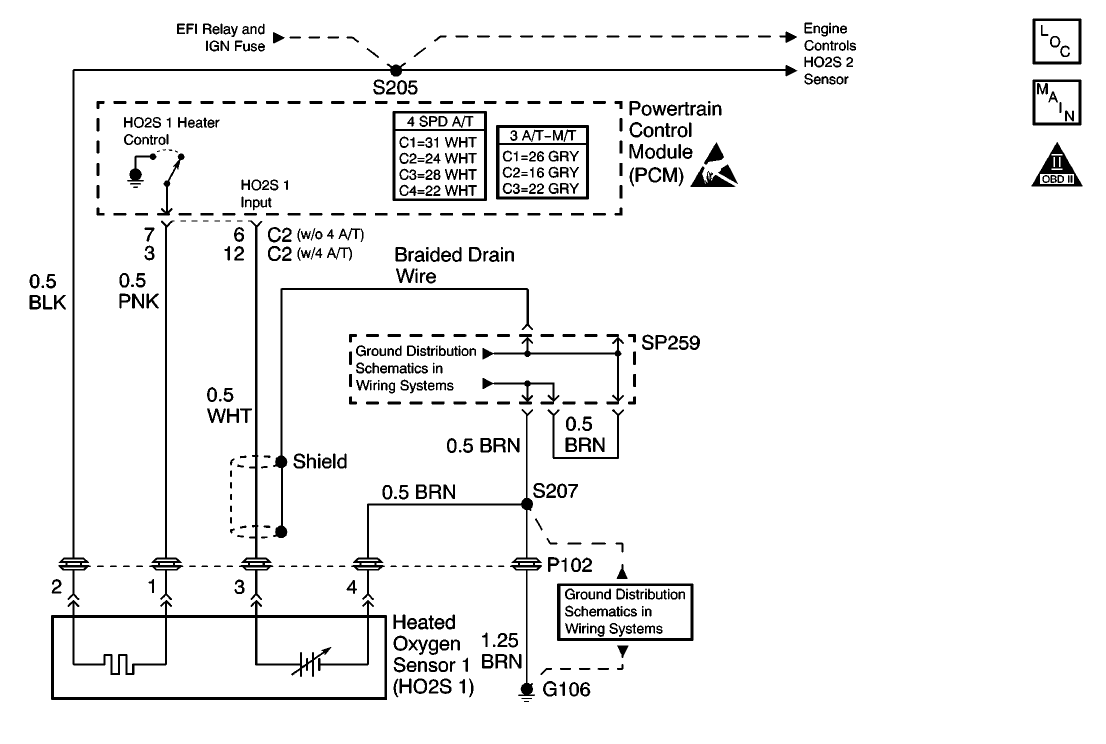
Object Number: 629801  Size: MF
Engine Controls Component Views
HO2S
OBD II Symbol Description Notice
Ground Distribution Schematics
Ground Distribution Schematics
Powertrain Control Module Connector End Views
Powertrain Control Module Connector End Views
Handling ESD Sensitive Parts Notice

Circuit Description

The heated oxygen sensor (HO2S) produces a voltage that varies between 100 mV and 900 mV. The powertrain control module (PCM) monitors this voltage and determines by the exhaust gas oxygen content whether the air/fuel mixture is rich or lean. When the voltage input at the PCM is about 100 mV, the HO2S is indicating a lean air/fuel mixture. When the voltage input is about 900 mV, the HO2S is indicating rich air/fuel mixture. The PCM constantly monitors the HO2S signal during closed loop operation and compensates for the rich or the lean condition by decreasing or increasing fuel injector pulse width. A DTC P0130 may set if the HO2S 1 voltage remains excessively high or low for an extended period of time.

Conditions for Running the DTC

    • The engine coolant temperature is more than 70°C (158°F).
    • The engine is running at idle.

Conditions for Setting the DTC

The HO2S 1 output voltage stays between 0.40 volts and 0.55 volts.

OR:

The HO2S 1 output voltage is always less than 0.55 volts.

OR:

The HO2S 1 output voltage is always more than 0.40 volts.

Action Taken When the DTC Sets

    • The PCM illuminates the malfunction indicator lamp (MIL) after 2 consecutive ignition cycles in which the diagnostic runs with the fault active.
    • The PCM records the operating conditions at the time the diagnostic fails. This information is stored in the Freeze Frame buffer.

Conditions for Clearing the MIL/DTC

    • The MIL turns OFF after 3 consecutively passing trips without a fault present.
    • A History DTC clears after 40 consecutive warm-up cycles without a fault.
    • Use the scan tool Clear DTC Information function in order to clear the DTC.

Diagnostic Aids

A DTC P0130 is more likely to set during city driving. Avoid operating the vehicle on the highway when validating a DTC P0130.

Clear the DTCs. Road test the vehicle while monitoring the HO2S test in the MIL/System Status selection under System Information on the scan tool. When the HO2S test indicates complete with a YES status, check for a DTC P0130 under Last Test Failed. If there is no DTC P0130 indicated, the DTC is intermittent and the HO2S system diagnostic is indicating OK at this time.

The scan tool output control feature, Fuel Injector Modification, can be used at idle to check the oxygen sensor performance. Increasing the Fuel Injector Modification Commanded State to 25 percent should cause the HO2S 1 voltage to exceed 800 mV. Decreasing the Fuel Injector Modification Commanded State to -12 percent should cause the HO2S 1 voltage to drop to less than 100 mV. An oxygen sensor that fails to respond accordingly may be faulty or contaminated. When performing a Fuel Injector Modification with the scan tool, the Loop Status will remain Open Loop and the Short Term FT will be fixed at 0 percent and 128 Counts.

Check for any of the following conditions:

    • A misrouted heated oxygen sensor wiring. The sensor pigtail may be misrouted and contacting the exhaust system causing a short to ground.
    • Verify the PCM to engine electrical grounds are OK.
    • An incorrect fuel pressure. The fuel system can go lean if the fuel pressure is too low and DTC P0130 may be set. Refer to Fuel System Diagnosis .
        An incorrectly calibrated fuel injector
    • Any vacuum leaks. Inspect for disconnected or damaged vacuum hoses and for vacuum leaks at the intake manifold, the throttle body, and the crankcase ventilation system.
    • Any exhaust leaks near the HO2S. An exhaust leak may cause outside air to be pulled into the exhaust gas stream and past the HO2S. The outside air may cause DTC P0130 to set.
    • A shorted HO2S. An HO2S that is shorted to ground will display less than 0.1 volts on the scan tool. An HO2S that is shorted to voltage will display a reading of more than 1.0 volt on the scan tool. Water contamination of the HO2S can cause a low or high HO2S voltage to be indicated. A DTC P0130 that occurs more frequently when driving through standing water or when operating the vehicle in wet driving conditions can indicate water intrusion. Replace the HO2S if the sensor is adversely affected by moisture.
    • A contaminated HO2S. Silicon contamination of the HO2S can cause a low signal voltage to be indicated. Silicon contamination is indicated by a powdery white deposit on the portion of the HO2S exposed to the exhaust stream. Before replacing the HO2S determine the cause of the contamination and correct the condition.
    • Fuel contamination. Small amounts of water can be delivered to the fuel injectors and cause a lean exhaust indication. A lean exhaust indication can also be caused by too much alcohol in the fuel. Refer to Alcohol/Contaminants-in-Fuel Diagnosis .
    • A faulty electrical connection to the PCM
    • A saturated EVAP canister or a faulty EVAP purge control. Refer to Evaporative Emission Control System Diagnosis .

An intermittent malfunction may be caused by a fault in the HO2S 1 electrical circuit. Inspect the wiring harness and components for any of the following conditions:

    • Any backed-out terminals
    • Any improper mating of terminals
    • Any broken electrical connector locks
    • Any improperly formed or damaged terminals
    • Any faulty terminal-to-wire connections
    • Any physical damage to the wiring harness
    • A broken wire inside the insulation
    • Any corrosion of the electrical connections, the splices, or the terminals

Repair any electrical circuit faults that were found. Refer to Wiring Repairs in Wiring Systems.

The information included in the Freeze Frame data can be useful in determining the vehicle operating conditions when the DTC first set.

Test Description

The numbers below refer to the step numbers in the diagnostic table.

  1. The OBD System Check prompts the technician to complete some basic checks and store the Freeze Frame data on the scan tool if applicable. This creates an electronic copy of the data taken when the fault occurred. The information is then stored in the scan tool for later reference.

  2. This step verifies whether the malfunction is presently occurring.

  3. This step checks whether the malfunction that caused the DTC P0130 is still present. Operating the vehicle in Check mode enhances the diagnostic capabilities of the PCM. The HO2S 1 diagnostic can be monitored on the scan tool under the MIL/System Status selection of System Information. When the HO2S test displays a YES status, indicating that the heated oxygen sensor system diagnostic is completed, check for DTC P0130 in the Last Test Failed screen of the scan tool. If there is no DTC P0130 displayed, the HO2S diagnostic has run and passed, indicating that no malfunction was present this time. The DTCs MUST be cleared in order to view the Current Status of the system diagnostics being performed. Do not forget that the MIL/System Status tests only indicate that the test has run, not whether the test passed or failed. The Last Test Failed screen must be checked for related DTCs in order to determine the outcome of the diagnostic test involved. For additional information on Check mode operation refer to A Powertrain On Board Diagnostic (OBD) System Check.

  4. In this step the DMM is used as a low current voltage source taking the place of the HO2S. This step verifies whether the PCM is able to receive and process a signal from the HO2S 1.

Step

Action

Values

Yes

No

1

Did you perform the Powertrain On-Board Diagnostic (OBD) System Check performed?

--

Go to Step 2

Go to Powertrain On Board Diagnostic (OBD) System Check

2

  1. Start the engine, and allow the engine to reach normal operating temperature.
  2. Select the HO2S 1 parameter on the scan tool.
  3. Snap the throttle.
  4. Observe the HO2S 1 parameter.

Does the HO2S 1 voltage vary within the specified range?

200-900 mV

Go to Step 3

Go to Step 4

3

  1. Perform the scan tool Clear DTC Information function.
  2. Place the vehicle into the Check mode, using the scan tool.
  3. Operate the vehicle within the Freeze Frame conditions as specified or until the HO2S test is complete. Refer to the Test Description.

Did DTC P0130 set?

--

Go to Step 4

Go To Diagnostic Aids

4

  1. Disconnect the HO2S 1 connector.
  2. Turn ON the ignition, with the engine OFF.
  3. Set a digital multimeter (DMM) to measure DC millivolts.
  4. Place the positive lead of the DMM on battery positive voltage, and the negative lead on the HO2S 1 input circuit terminal on the engine harness side.
  5. Observe the HO2S 1 parameter on the scan tool.

Is the voltage more than the specified value?

1155 mV

Go to Step 5

Go to Step 6

5

  1. Connect a test lamp to battery voltage.
  2. Probe the HO2S 1 sensor ground circuit terminal (engine harness side).

Does the test lamp illuminate?

--

Go to Step 8

Go to Step 7

6

  1. Check for an open or short in the HO2S 1 input circuit between the HO2S 1 and the PCM connector.
  2. Repair as necessary. Refer to Wiring Repairs in Wiring Systems.

Was a repair necessary?

--

Go to Step 10

Go to Step 9

7

Repair the open in the HO2S 1 ground circuit between the HO2S 1 and G106. Refer to Wiring Repairs in Wiring Systems.

Is the action complete?

--

Go to Step 10

--

8

Replace the HO2S 1. Refer to Heated Oxygen Sensor Replacement .

Is the action complete?

--

Go to Step 10

--

9

Replace the PCM. Refer to Powertrain Control Module Replacement .

Is the action complete?

--

Go to Step 10

--

10

  1. Perform the scan tool Clear DTC Information function and road test the vehicle within the Freeze Frame conditions that set the DTC.
  2. Review the scan tool data and check for DTCs. The repair is complete if no DTCs are stored.

Are any DTCs displayed on the scan tool?

--

Go to Diagnostic Trouble Code (DTC) List

System OK