GM Service Manual Online
For 1990-2009 cars only
Makes
🢒
Chevrolet
🢒
2001
🢒
Prizm
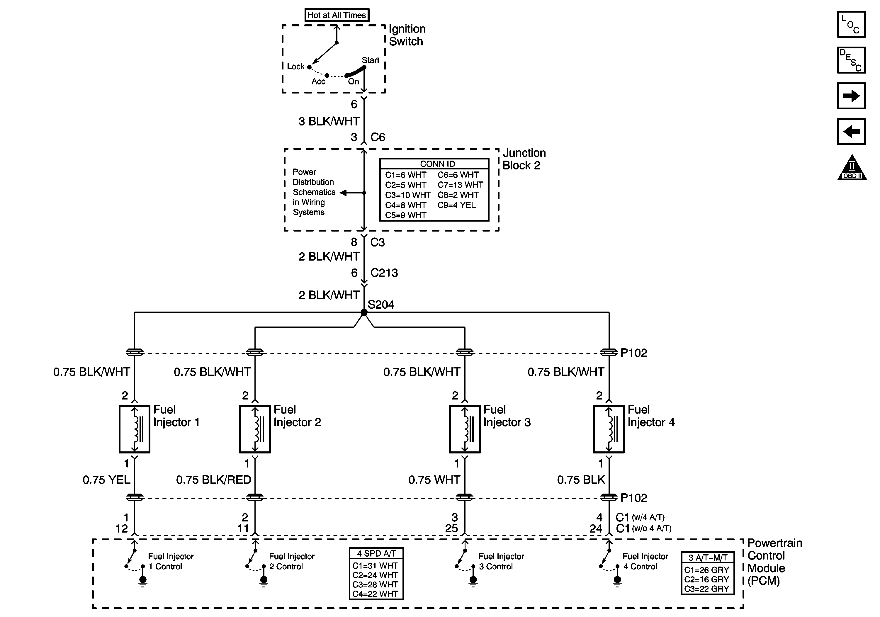
🢒 Fuel Injectors
Fuel Injectors
Fuel Injectors
Master Electrical Component List
Fuel System Description
OBD II Symbol Description Notice
Engine Data Sensors
Fuel Sender Assembly
Ignition Switch, IGN and ST Fuses