GM Service Manual Online
For 1990-2009 cars only
Makes
🢒
Chevrolet
🢒
2001
🢒
Prizm
🢒 Data Link Connector (DLC) OBD2
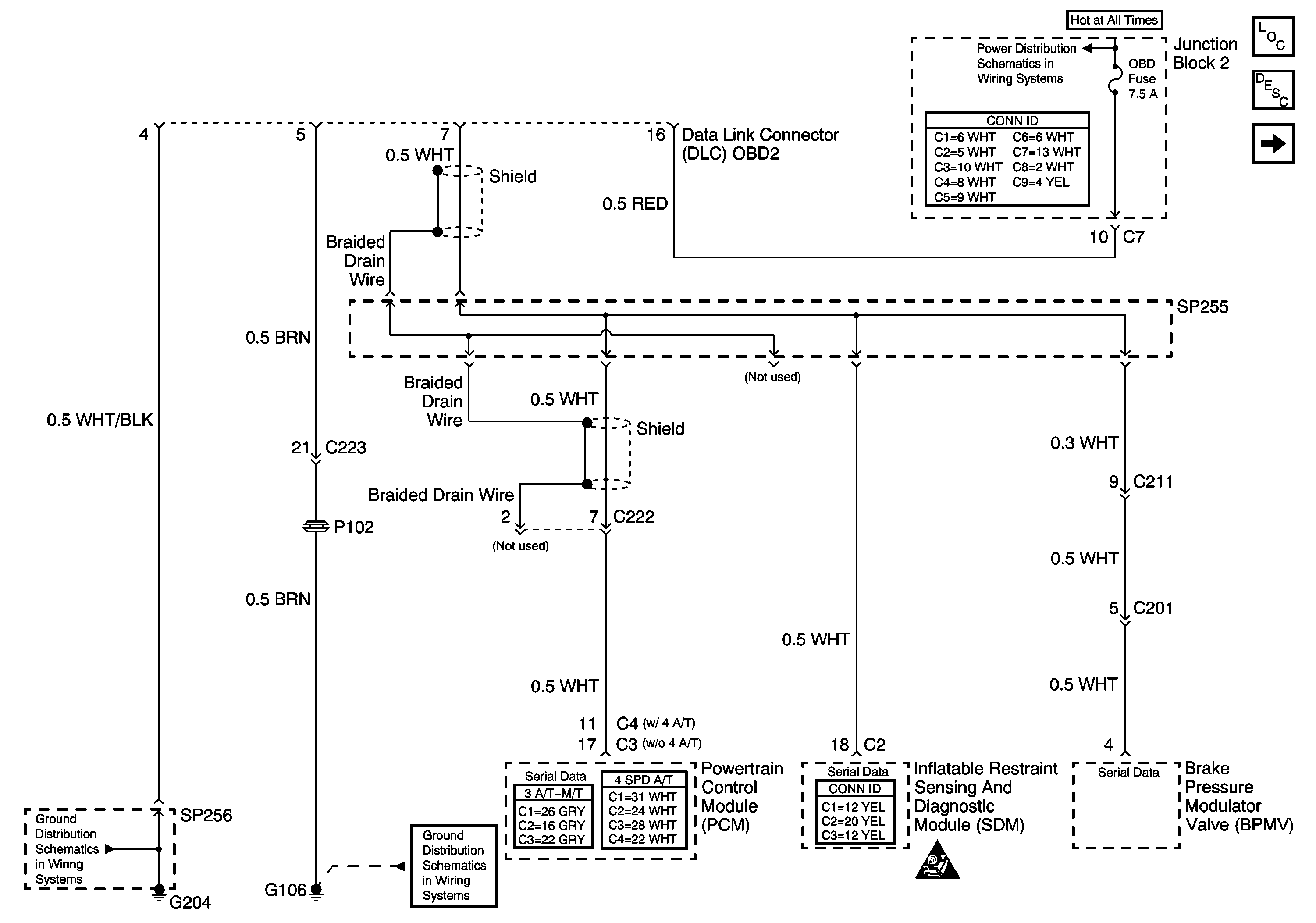
Data Link Connector (DLC) OBD2
Data Link Connctor (DLC) OBD2
Master Electrical Component List
SIR Handling Caution
Data Link Connector (DLC) Underhood
G105, G106 and S207