GM Service Manual Online
For 1990-2009 cars only
Makes
🢒
Chevrolet
🢒
2001
🢒
Prizm
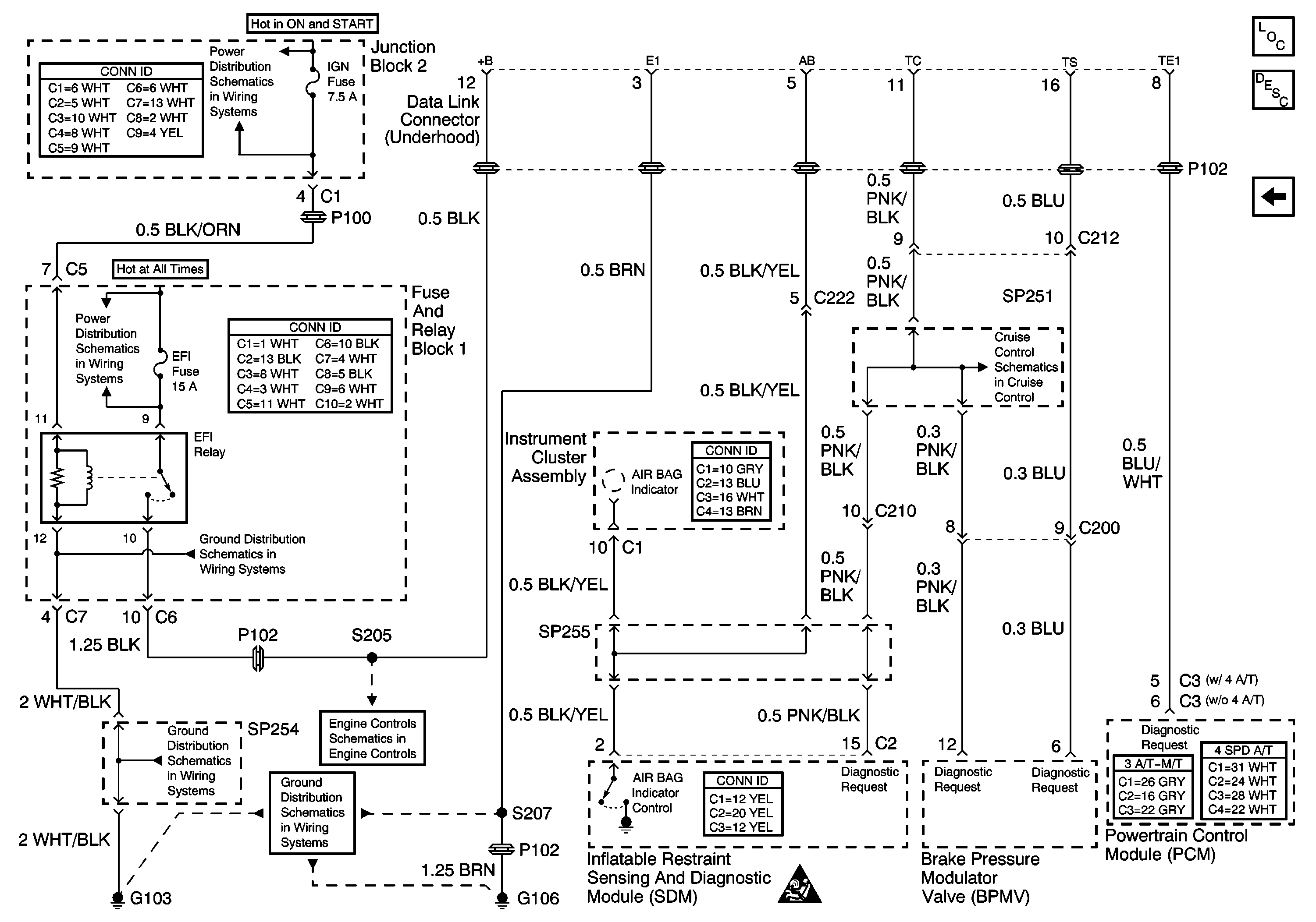
🢒 Data Link Connector (DLC) Underhood
Data Link Connector (DLC) Underhood
Data Link Connector (DLC) Underhood
Master Electrical Component List
SIR Handling Caution
Data Link Connector (DLC) OBD2
Cruise Control Module and Cruise Control Switch
G105, G106 and S207
DLC and Fuse Relay Block
G100, G101, G102, G103, and G104
SP 254 and SP261
ALT-S, AM2, DOME, EFI, Hazard, Horn, and Main Fuses
Ignition Switch, IGN and ST Fuses