GM Service Manual Online
For 1990-2009 cars only

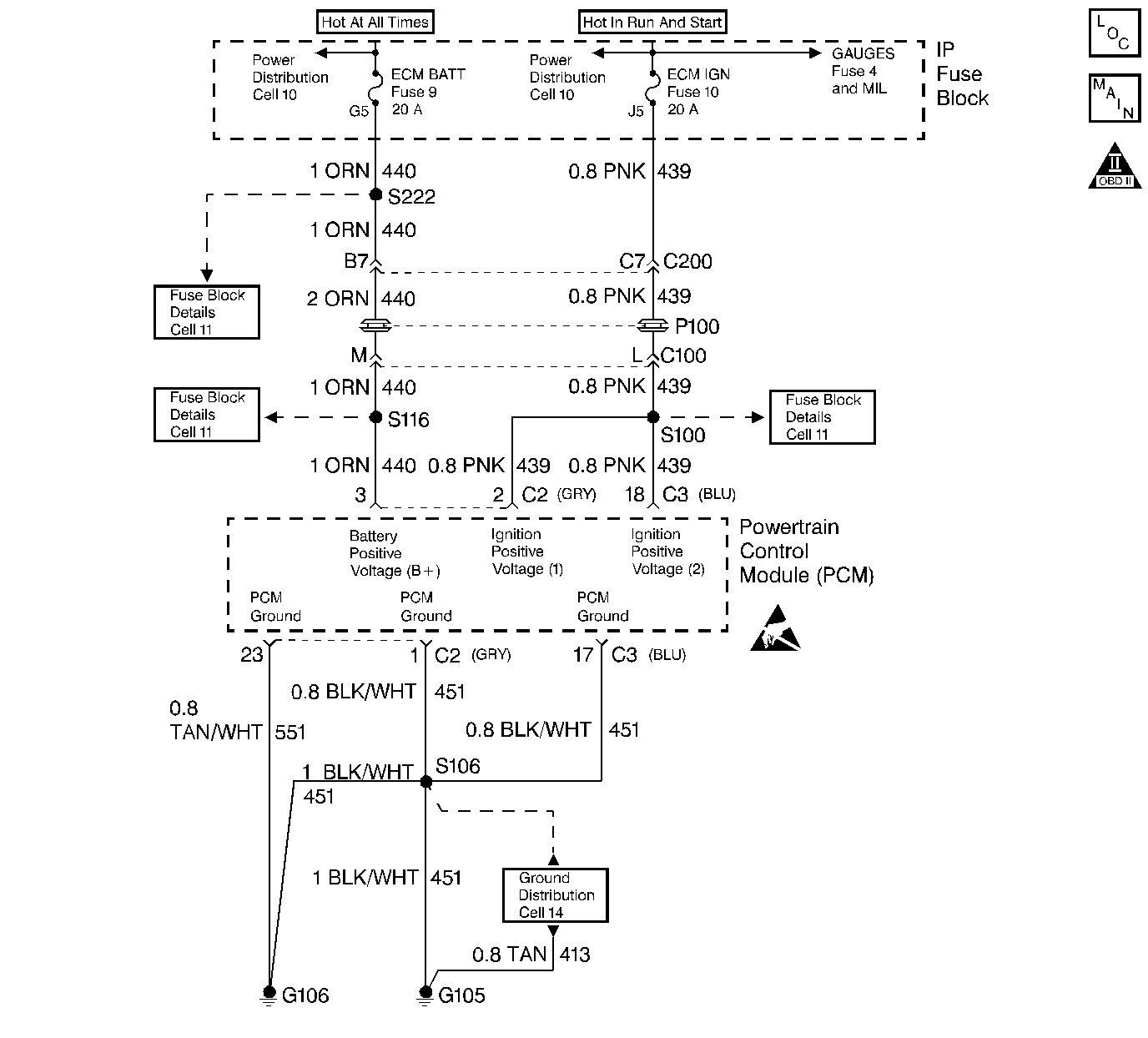
Object Number: 30048  Size: LF
Handling ESD Sensitive Parts Notice
Engine Controls Components
Ignition, Ground, and MIL Voltage
OBD II Symbol Description Notice

Circuit Description

The Powertrain Control Module (PCM) monitors the system voltage on the ignition feed terminals to the PCM. A system voltage DTC sets whenever the voltage is below a calibrated value.

Conditions For Setting The DTC

    • The system voltage is less than 10 V.
    • The RPM is greater than 1300 RPM.
    • The fault is present for 240 seconds.

Action Taken When the DTC Sets

    • The PCM records the operating conditions at the time the diagnostic fails. The Failure Records buffers stores this information.
    • A history DTC is stored.

Conditions for Clearing the DTC

    • A History DTC clears after 40 consecutive warm up cycles without a fault.
    • Use a scan tool to clear the DTCs.

Diagnostic Aids

Whenever a DTC sets when an accessory is operated, check for a poor connection or an excessive current draw.

Test Description

The numbers below refer to the step numbers on the diagnostic table.

  1. The Powertrain OBD System Check prompts the technician to complete some basic checks and store the Freeze Frame Data and the Failure Records on the scan tool if applicable. This creates an electronic copy of the data taken when the fault occurs. Refer to this information on the scan tool later.

  2. This checks if the generator is faulty under load conditions.

  3. Before replacing the PCM, check the terminals for improper mating, broken locks, or physical damage to the wiring harness. Reprogram the replacement PCM. Refer to the latest Techline information for programming procedures.

Step

Action

Value(s)

Yes

No

1

Was the Powertrain On-Board Diagnostic (OBD) System Check performed?

--

Go to Step 2

Go to Powertrain On Board Diagnostic (OBD) System Check

2

  1. Install a scan tool.
  2. Start the engine.
  3. Raise the engine RPM to the specified value.
  4. Load the electrical system by turning on the headlights, high blower, etc.

Is the ignition voltage less than the specified value?

1400 RPM

10 V

Go to Step 3

Go to Step 8

3

With the engine still running at the specified RPM, use a DVM to measure the battery voltage at the battery.

Is the battery voltage greater than the specified value?

1400 RPM

12 V

Go to Step 4

Go to Section 6D3

4

  1. Turn the ignition OFF.
  2. Disconnect the PCM connector at the PCM.
  3. Turn the ignition ON leaving the engine off.
  4. Using a DVM, measure the ignition voltage at the ignition feed circuit.

Is the ignition voltage greater than the specified value?

10 V

Go to Step 5

Go to Step 6

5

  1. Check for faulty connections at the PCM harness terminals.
  2. Repair as necessary. Refer to Wiring Repairs in Engine Electrical.

Was a repair necessary?

--

Go to Step 8

Go to Step 7

6

Repair the poor connection (high resistance) in the ignition feed circuit. Refer to Wiring Repairs in Engine Electrical.

Is the action complete?

--

Go to Step 8

--

7

Replace the PCM. Refer to Powertrain Control Module Replacement/Programming .

Is the action complete?

--

Go to Step 8

--

8

  1. Using the scan tool, clear the DTCs.
  2. Start the Engine.
  3. Allow the engine to idle until the engine reaches the specified temperature.
  4. Operate the vehicle within the conditions for setting this DTC as specified in the supporting text.

Does the scan tool indicate that this diagnostic ran and passed?

90°-95° C

Go to Step 9

Go to Step 2

9

Check if any additional DTCs are set.

Are any DTCs displayed that have not been diagnosed?

--

Go to the Applicable DTC Table

System OK