GM Service Manual Online
For 1990-2009 cars only
Makes
🢒
Chevrolet
🢒
1997
🢒
S10 Pickup - 2WD
🢒 Fuel Controls
Fuel Controls
Fuel Controls
Engine Controls Components
Powertrain Control Module (PCM) Control Modules
Fuel Injectors
Fuel Level Buffer
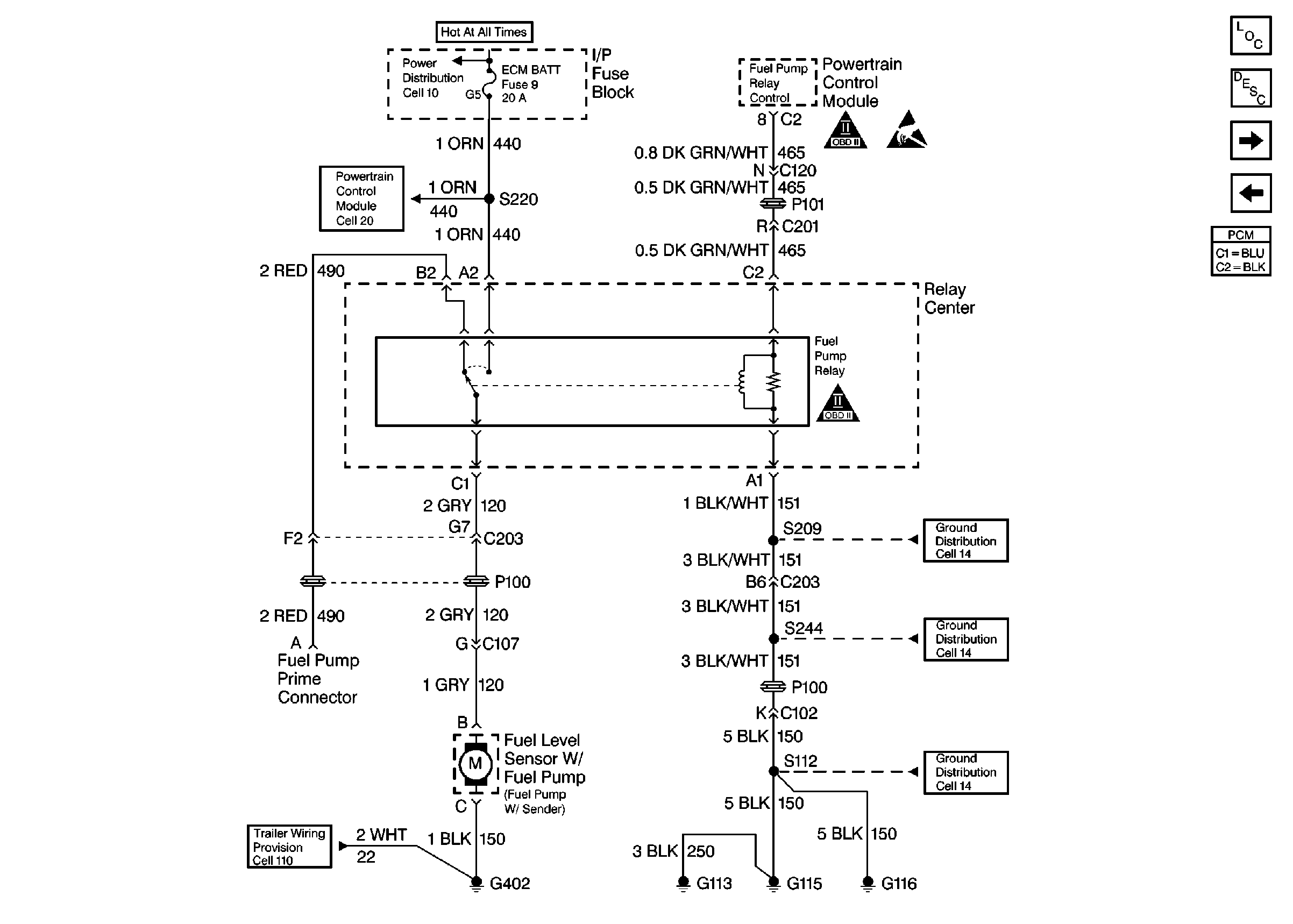
Power, Ground, MIL
OBD II Symbol Description Notice
Handling Electrostatic Discharge Sensitive Parts Notice
OBD II Symbol Description Notice