GM Service Manual Online
For 1990-2009 cars only

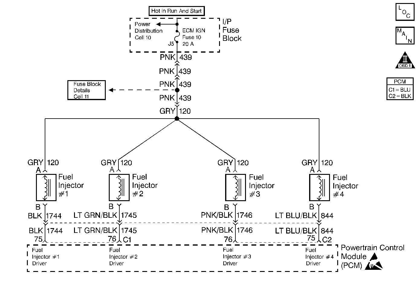
Object Number: 56093  Size: MF
Engine Controls Components
Fuel Injectors
OBD II Symbol Description Notice
Engine Controls Connector End Views
Handling ESD Sensitive Parts Notice

Circuit Description

The Powertrain Control Module (PCM) has four fuel injector driver circuits, each of which controls a fuel injector. The PCM monitors the current in each driver circuit and is able to control the driver circuit. The current through each driver can rise to a peak of 2 amps in order to quickly open the fuel injectors. The current can reduce to 1/2 amp to hold the fuel injectors open. This is called peak and hold. If the current cannot reach a 2-amp peak, a DTC is set. This DTC is also set if a fuel injector driver is shorted to voltage.

Conditions for Setting the DTC

    • Injector current is less than 4 amps.
    • Battery voltage is more than 9 volts.
    • Above conditions met for 5 seconds.

Action Taken When the DTC Sets

    • The malfunction indicator lamp (MIL) illuminates.
    • The PCM records the operating conditions at the time when the diagnostic fails. This information stores in the Freeze Frame and Failure Records buffers.
    • A history DTC stores.
    • The coolant fan turns ON.

Conditions for Clearing the MIL/DTC

    • The MIL will turn OFF after three consecutive ignition cycles in which the diagnostic runs without a fault.
    • A history DTC will clear after 40 consecutive warm-up cycles without a fault.
    • The MIL/DTCs can be cleared by using the scan tool.

Diagnostic Aids

An injector driver circuit that is open or shorted to voltage will cause a DTC P0200 to set and will also cause a misfire due to an inoperative injector. A misfire DTC should also be set indicating which cylinder is inoperative.

Long term and short term fuel trims that are excessively high or low are a good indication that an injector is malfunctioning. Use Fuel Injector Solenoid Coil Test to check for malfunctioning injectors.

Test Description

Number(s) below refer to the step number(s) on the Diagnostic Table.

  1. The Powertrain OBD System Check prompts the technician to complete some basic checks and store the freeze frame and failure records data on the scan tool if applicable. This creates an electronic copy of the data taken when the malfunction occurred. The information is then stored on the scan tool for later reference.

  2. This step determines if DTC P0200 is the result of a hard malfunction or an intermittent condition.

  3. This step test the harness wiring and for PCM control of the fuel injectors using the test light J 34780-2. If the test light blinks, the PCM and wiring to the fuel injectors are OK. Fuel Injector Solenoid Coil Test will check if the fuel injectors are malfunctioning.

  4. Whether the test light was ON steady or OFF while cranking the engine narrows the possible malfunctions down to just a few.

  5. Because the test light was ON steady, voltage to the fuel injector is OK, but the fuel injector driver circuit is grounded at all times. This step determines if the circuitry is shorted to ground or the PCM is malfunctioning.

  6. Replacement PCMs must be reprogrammed and the crankshaft position system variation procedure must be performed. Refer to the latest Techline information for PCM reprogramming and also refer to the Powertrain Control Module (PCM) for the Crankshaft Position System Variation Procedure.

  7. Determines if voltage is available to the fuel injector. Voltage is supplied through the fuel pump relay so the engine must be cranked to see voltage at the fuel injector.

  8. This step determines if the fuel injector driver circuit is open, shorted to voltage or if the PCM is malfunctioning.

  9. Since the voltage is supplied to the fuel injector on a single circuit before the injector harness, the malfunction could only be a poor connection or open in the injector harness. An open before the harness would result in a Cranks But Does Not Run complaint.

  10. Check the fuel injector electrical connector, the fuel injector harness connector and the PCM for poor connections or corroded terminals.

DTC P0200-Injector Control Circuit

Step

Action

Value(s)

Yes

No

1

Was the Powertrain On-Board Diagnostic (OBD) System Check performed?

--

Go to Step 2

Go to Powertrain On Board Diagnostic (OBD) System Check

2

Will the engine start and continue to run?

--

Go to Step 3

Go to Engine Cranks but Does Not Run

3

  1. Install a scan tool, clear the DTC.
  2. Idle the engine for one minute.

Does DTC P0200 reset?

--

Go to Step 5

Go to Step 4

4

  1. Turn the ignition switch ON, with engine OFF.
  2. Review the Freeze Frame data and note the parameters.
  3. Operate the vehicle within the Freeze Frame conditions and Conditions For Setting The DTC as noted.

Does P0200 Reset?

--

Go to Step 5

Go to Step 16

5

  1. With the engine OFF.
  2. Disconnect all 4 fuel injector electrical connectors from the injectors.
  3. Install an injector test light on fuel injector 1 electrical connector.
  4. Crank the engine and note the fuel injector test light.
  5. Remove the fuel injector test light and install the fuel injector test light on the remaining fuel injector electrical connectors.
  6. Crank the engine and note the fuel injector test light on the remaining fuel injector connectors.

Does the fuel injector test light blink on all tests?

--

Go to Fuel Injector Solenoid Coil Test

Go to Step 6

6

Note whether the fuel injector test light was OFF or ON steady in step 5 for the fuel injector electrical connector that did not blink.

Was the fuel injector test light ON steady while cranking the engine?

--

Go to Step 7

Go to Step 10

7

  1. Disconnect the PCM electrical connector for the affected injector.
  2. With a test light connected to B+, probe the affected fuel injector driver circuits.

Does the fuel injector test light illuminate?

--

Go to Step 8

Go to Step 9

8

Check for a short to ground in the fuel injector driver circuit and repair as necessary.

Was a repair necessary?

--

Go to Step 16

Go to Step 9

9

Replace the PCM.

Is the action complete?

--

Go to Step 16

--

10

  1. Connect a test light to ground and probe the ignition feed circuit of the affected electrical connector.
  2. Crank the engine.

Does the test light illuminate while cranking?

--

Go to Step 11

Go to Step 12

11

  1. Connect a test light to ground and probe the fuel injector driver circuit of the affected electrical connector.
  2. Crank the engine.

Is the test light OFF while cranking?

--

Go to Step 13

Go to Step 14

12

Repair the open in the ignition feed circuit in the fuel injector harness.

Is the action complete?

--

Go to Step 16

--

13

Check the fuel injector driver circuit for an open or malfunctioning electrical connection.

Was a problem found?

--

Go to Step 15

Go to Step 9

14

Repair the short to voltage in the fuel injector driver circuit.

Is the action complete?

--

Go to Step 16

--

15

Repair the open or malfunctioning electrical connection in the fuel injector driver circuit.

Is the action complete?

--

Go to Step 16

--

16

  1. Using the scan tool, clear the DTCs.
  2. Start the engine and idle at normal operating temperature.
  3. Operate the vehicle within the conditions for setting this DTC as specified in the supporting text.

Does the scan tool indicate that this diagnostic has ran and passed?

--

Go to Step 17

Go to Step 2

17

Check if any additional DTCs are set.

Are any DTCs displayed that have not been diagnosed?

--

Go to applicable DTC table

System OK