GM Service Manual Online
For 1990-2009 cars only
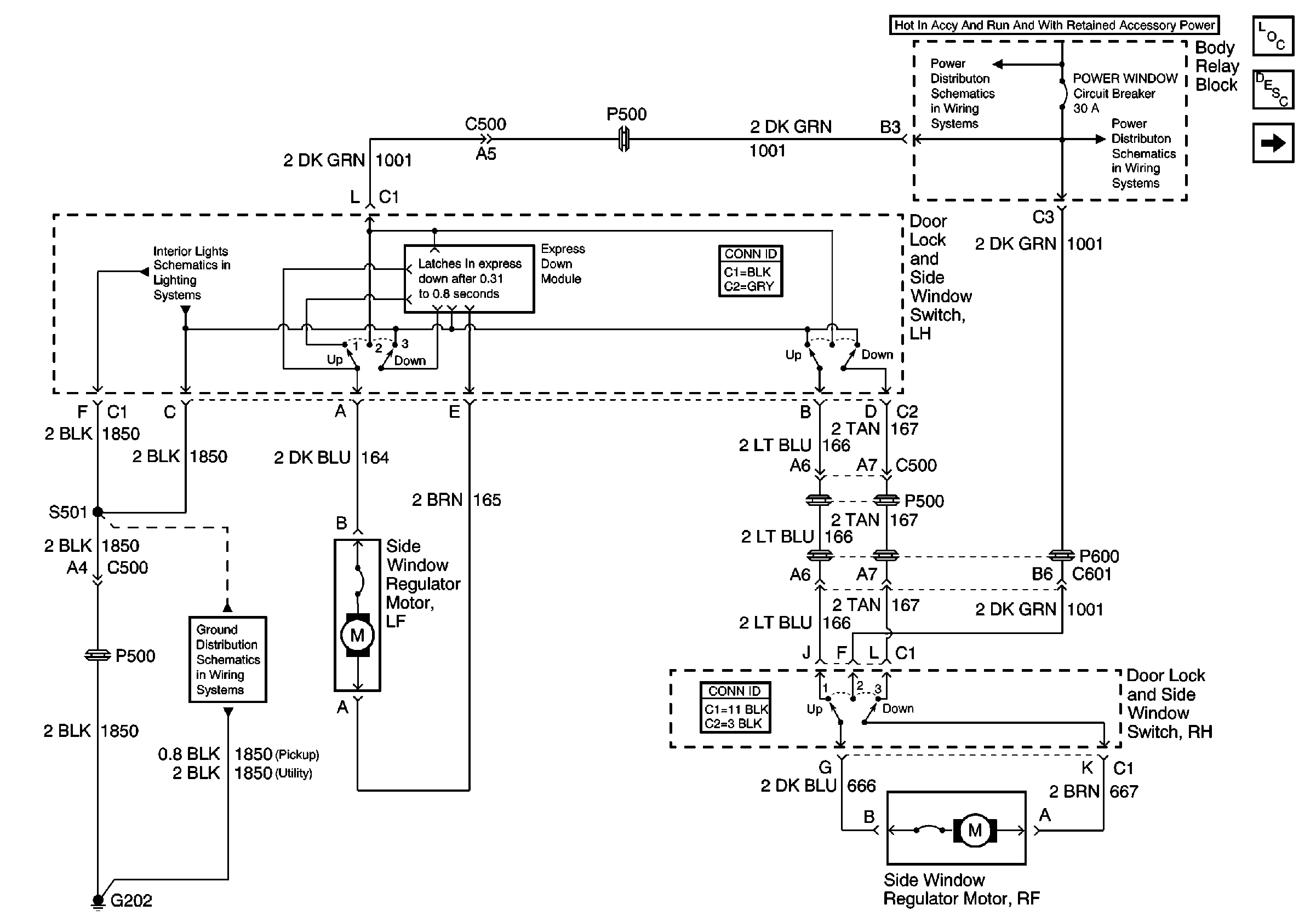
Figure 1:

Power and Ground


Object Number: 545913  Size: FS
Power Door Systems Components
Power Windows Circuit Description
Front Side Window Motors
Power Seats, Power Windows Circuit Breakers and RAP Relay
Power Seats, Power Windows Circuit Breakers and RAP Relay
Headlamp Switch
Power Door Systems Connector End Views
G202 (Utility)
Power Door Systems Connector End Views
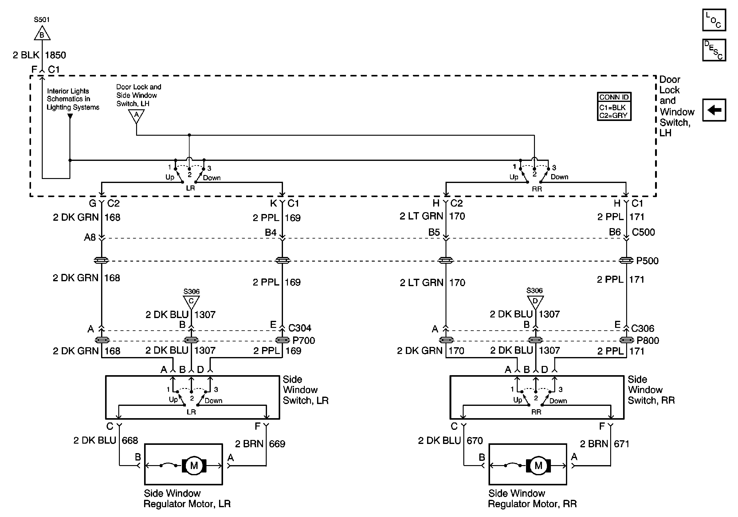
Figure 2:

Front Side Window Motors


Object Number: 545917  Size: FS
Power Door Systems Components
Power Windows Circuit Description
Rear Side Window Motors
Power and Ground
Power Seats, Power Windows Circuit Breakers and RAP Relay
Power Seats, Power Windows Circuit Breakers and RAP Relay
S501 (Utility)
Rear Side Window Motors
Headlamp Switch
G202 (Utility)
Power Door Systems Connector End Views
Power Door Systems Connector End Views
Rear Side Window Motors
Rear Side Window Motors
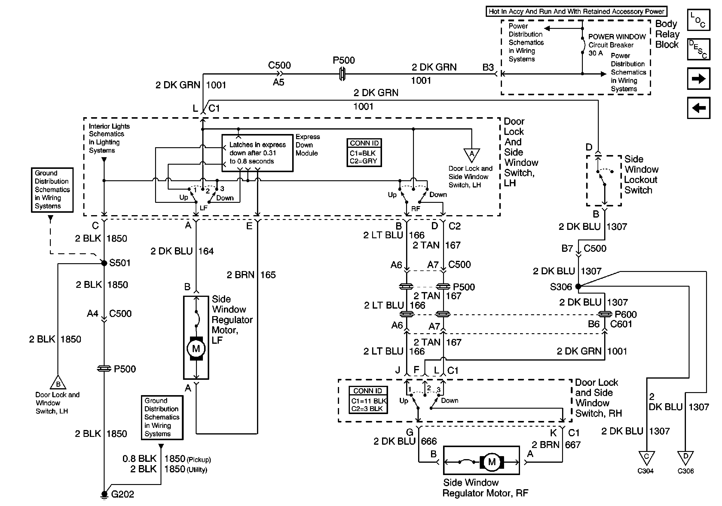
Figure 3:

Rear Side Window Motors


Object Number: 545918  Size: FS
Power Door Systems Components
Power Windows Circuit Description
Front Side Window Motors
Front Side Window Motors
Front Side Window Motors
Power Door Systems Connector End Views
Front Side Window Motors
Front Side Window Motors