GM Service Manual Online
For 1990-2009 cars only
Makes
🢒
Chevrolet
🢒
2000
🢒
S10 Pickup - 2WD
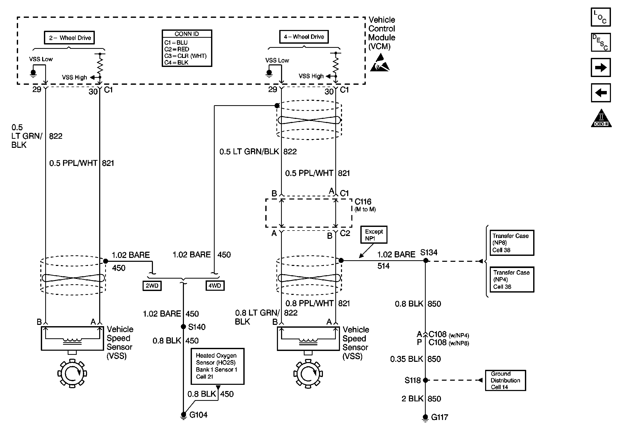
🢒 Cell 21: Vehicle Speed Sensor
Cell 21: Vehicle Speed Sensor
Cell 21: Vehicle Speed Sensor
VCM Connector End Views
Cell 21: Heated Oxygen Sensors
Cell 38: Speed Sensors
Cell 38: Speed Sensors
Cell 14: G104 and G117
Handling ESD Sensitive Parts Notice
Engine Controls Components
Vehicle Control Module Description
Cell 21: Brake Switch Input
Cell 21: AIR Pump Control
OBD II Symbol Description Notice