GM Service Manual Online
For 1990-2009 cars only
Makes
🢒
Chevrolet
🢒
2000
🢒
S10 Pickup - 2WD
🢒 Cell 14: G102 (Envoy Only)
Cell 14: G102 (Envoy Only)
Cell 14: G102 (Envoy Only)
Power and Grounding Components
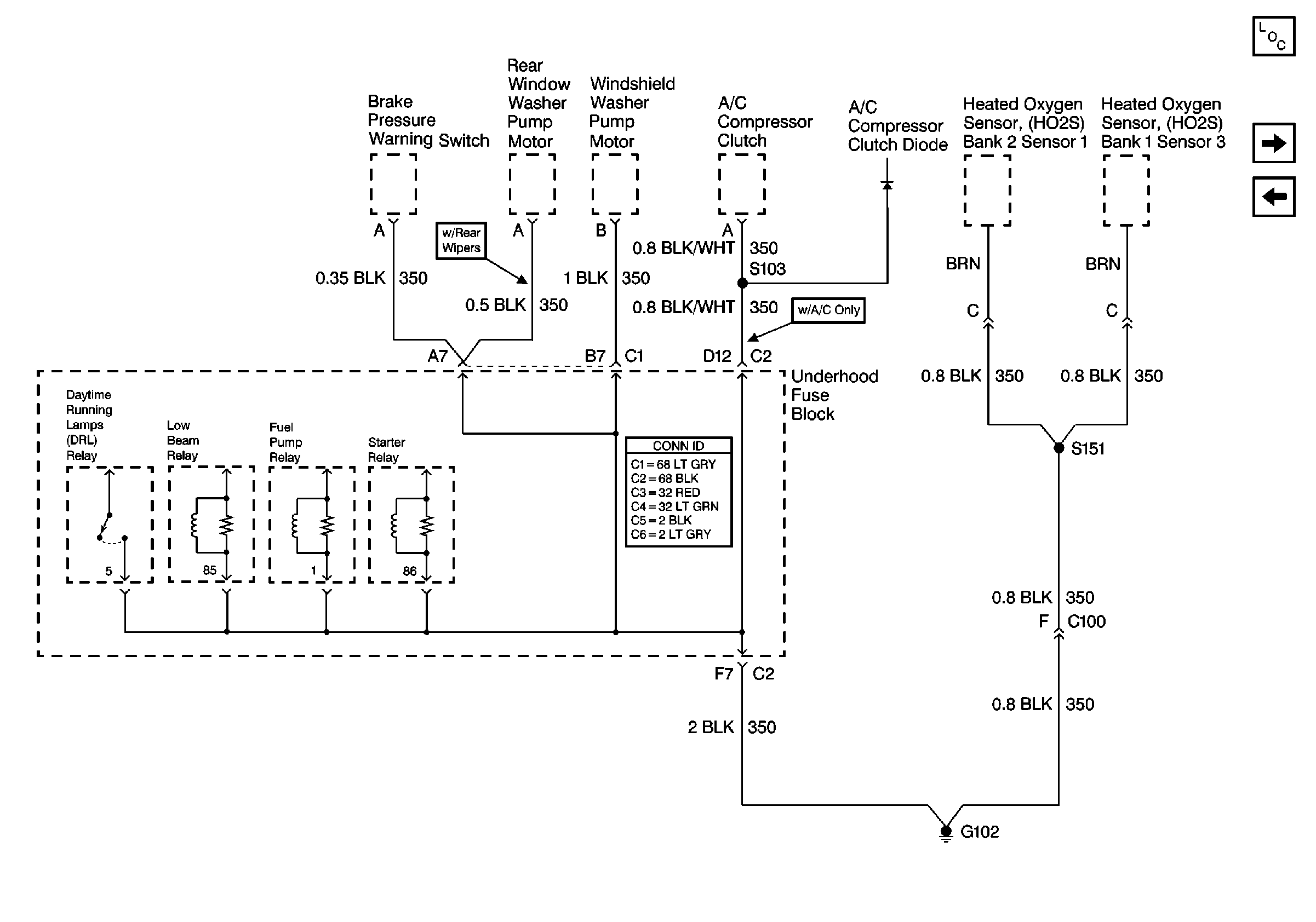
Cell 14: Body Relay Block and Underhood Fuse Block
Cell 14: G102 (Except Envoy)
Power and Grounding Connector End Views