GM Service Manual Online
For 1990-2009 cars only
Makes
🢒
Chevrolet
🢒
2000
🢒
S10 Pickup - 2WD
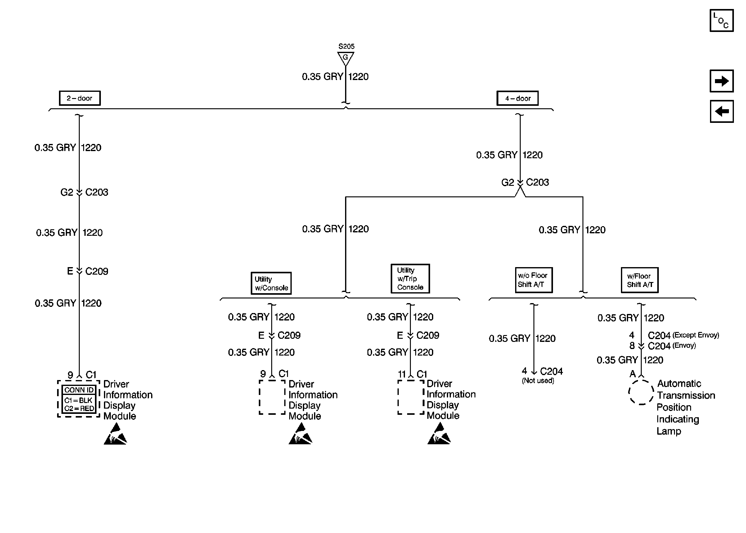
🢒 Cell 10: ILLUM Power (2-Door and 4-Door Utility)
Cell 10: ILLUM Power (2-Door and 4-Door Utility)
Cell 10: ILLUM Power (2-Door and 4-Door Utility)
Driver Information Systems Connector End Views
Handling ESD Sensitive Parts Notice
Handling ESD Sensitive Parts Notice
Handling ESD Sensitive Parts Notice
Cell 10: ILLUM Power (Utility)
Power and Grounding Components
Cell 10: FR PRK, LR PRK, RR PRK Fuses and Fog Lamp Relay (Pickup)
Cell 10: ILLUM Power (Utility)