GM Service Manual Online
For 1990-2009 cars only
Makes
🢒
Chevrolet
🢒
2000
🢒
S10 Pickup - 2WD
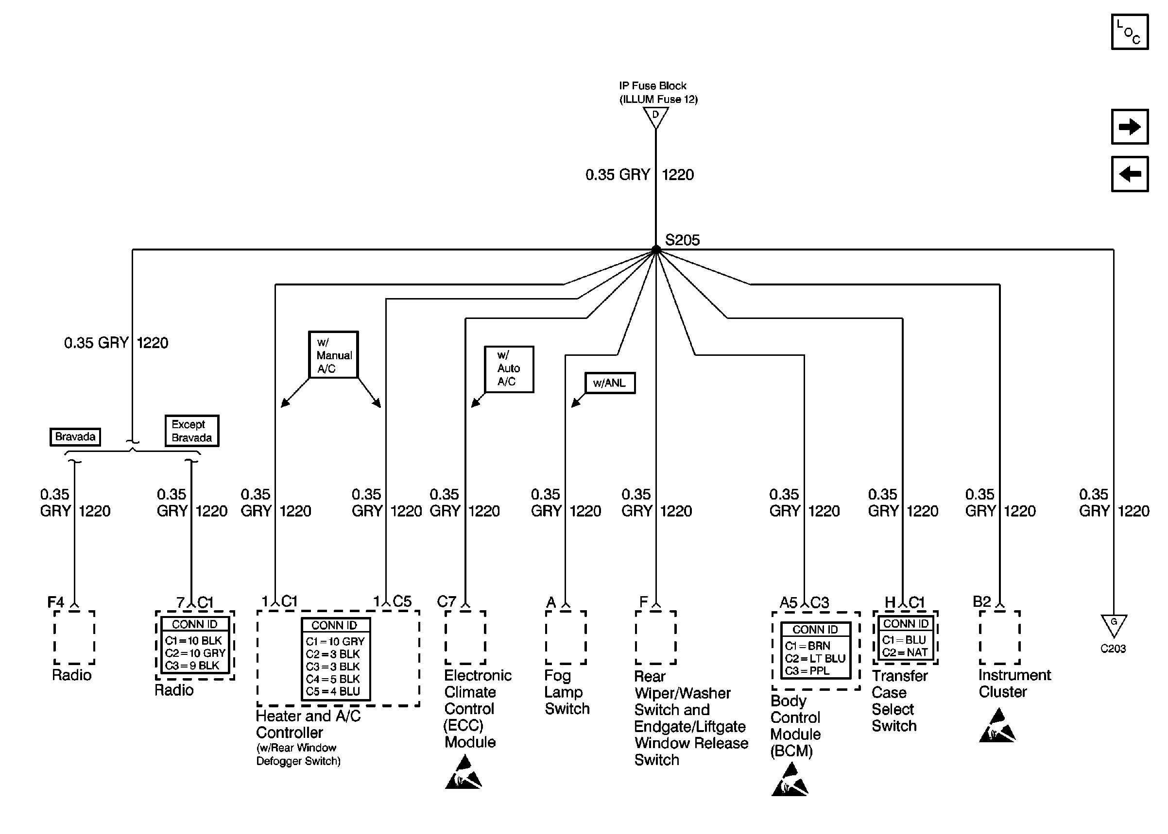
🢒 Cell 10: ILLUM Power (Utility)
Cell 10: ILLUM Power (Utility)
Cell 10: ILLUM Power (Utility)
Cell 10: ILLUM, PARK LP Fuses
Power and Grounding Components
Cell 10: ILLUM Power (2-Door and 4-Door Utility)
Cell 10: ILLUM Power (Pickup)
Cell 10: ILLUM Power (2-Door and 4-Door Utility)
Handling ESD Sensitive Parts Notice
Transfer Case Control Connector End Views
Body Control System Connector End Views
Handling ESD Sensitive Parts Notice
Handling ESD Sensitive Parts Notice
HVAC Connector End Views
Entertainment Connector End Views