GM Service Manual Online
For 1990-2009 cars only
Makes
🢒
Chevrolet
🢒
2000
🢒
S10 Pickup - 2WD
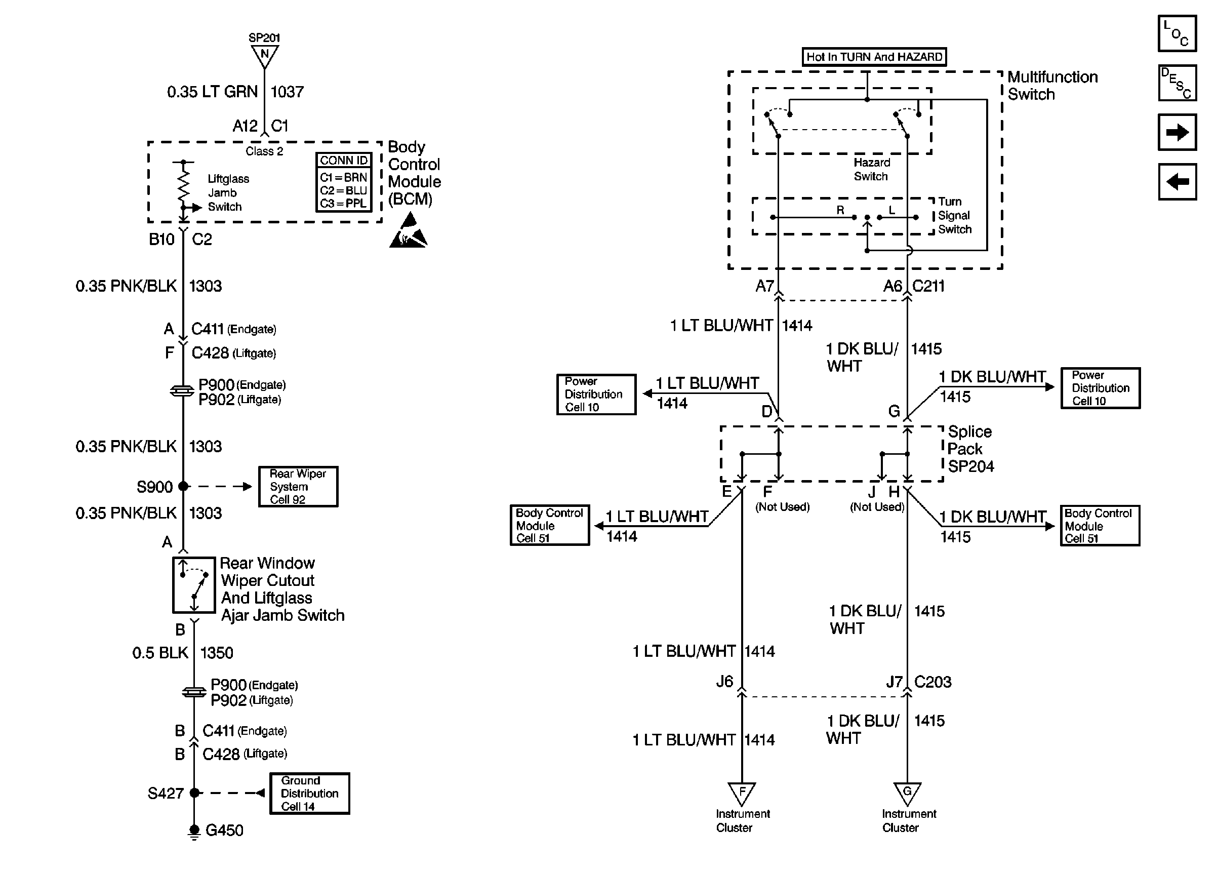
🢒 Cell 81: Multifunction Switch, Rear Window Wiper Cutout and Liftglass Ajar Jamb Switch
Cell 81: Multifunction Switch, Rear Window Wiper Cutout and Liftglass Ajar Jamb Switch
Cell 81: Multifunction Switch, Rear Window Wiper Cutout and Liftglass Ajar Jamb Switch
Cell 81: SDM, Engine Oil Pressure Gauge Sensor, PCM/VCM and DLC
Body Control System Connector End Views
Handling ESD Sensitive Parts Notice
Cell 92
Cell 14: G420 and G450 (Utility w/ Endgate)
Cell 51: Turn Signals
Cell 10: Stop, Turn and Hazard Buss Bar
Instrument Cluster Components
Instrument Cluster Circuit Description
Cell 81: SDM, Engine Oil Pressure Gauge Sensor, PCM/VCM and DLC
Cell 81: G105 and PCM/VCM
Cell 10: Stop, Turn and Hazard Buss Bar
Cell 51: Turn Signals
Cell 81: ILLUM, CLSTR and GAUGES Fuses and Instrument Cluster
Cell 81: ILLUM, CLSTR and GAUGES Fuses and Instrument Cluster