GM Service Manual Online
For 1990-2009 cars only
Makes
🢒
Chevrolet
🢒
2000
🢒
S10 Pickup - 2WD
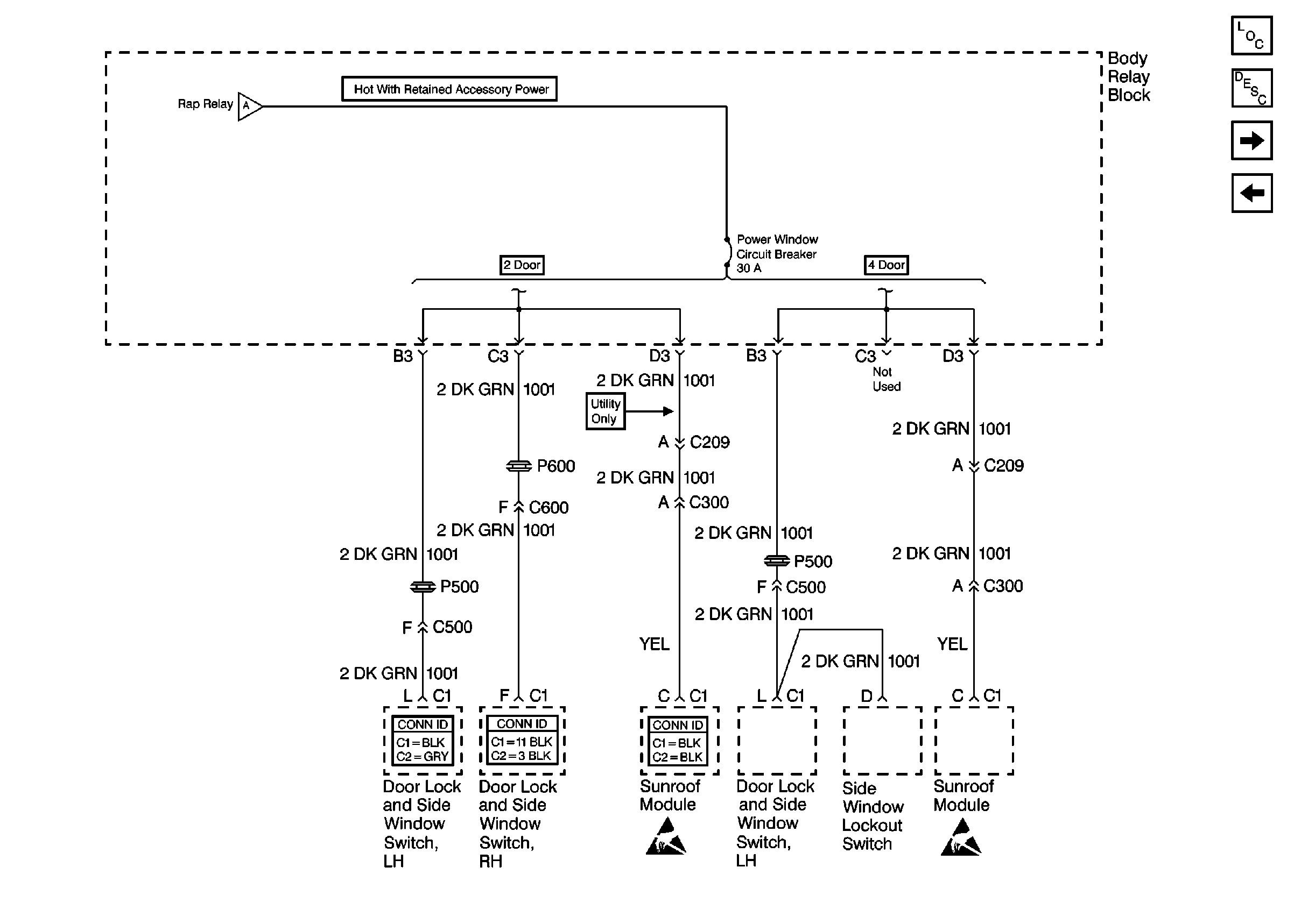
🢒 Cell 15: Door Lock and Side Window Switches
Cell 15: Door Lock and Side Window Switches
Cell 15: Door Lock and Side Window Switches
Cell 15: RAP Relay and Ignition Switch
Retained Accessory Power (RAP) Components
Retained Accessory Power (RAP) Circuit Description
Cell 15: RDO IGN and STR WHL RDO IGN Fuses
Cell 15: RAP Relay and Ignition Switch
Power Door Systems Connector End Views
Power Door Systems Connector End Views
Power Roof Systems Connector End Views
Handling ESD Sensitive Parts Notice
Handling ESD Sensitive Parts Notice