GM Service Manual Online
For 1990-2009 cars only
Makes
🢒
Chevrolet
🢒
2000
🢒
S10 Pickup - 2WD
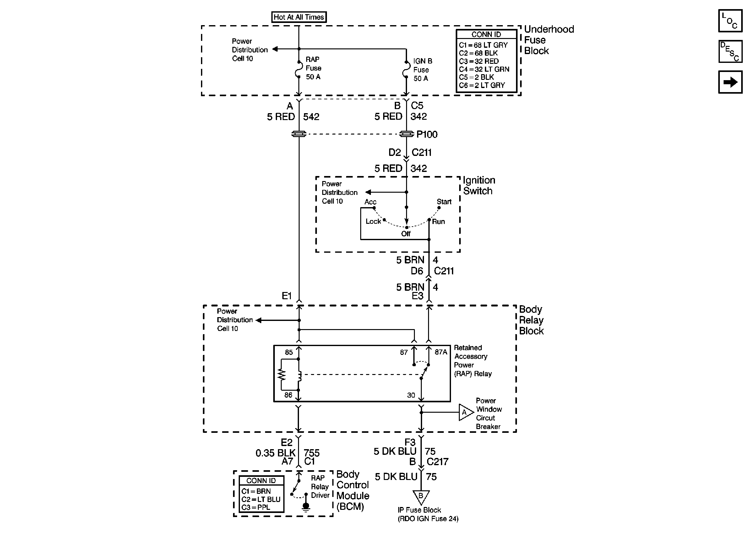
🢒 Cell 15: RAP Relay and Ignition Switch
Cell 15: RAP Relay and Ignition Switch
Cell 15: RAP Relay and Ignition Switch
Cell 10: Ign ACC, RUN and RAP Buss Bar
Power and Grounding Connector End Views
Cell 10: Ign ACC, RUN and RAP Buss Bar
Cell 10: Ign ACC, RUN and RAP Buss Bar
Body Control System Connector End Views
Cell 15: RDO IGN and STR WHL RDO IGN Fuses
Cell 15: Door Lock and Side Window Switches
Retained Accessory Power (RAP) Components
Retained Accessory Power (RAP) Circuit Description
Cell 15: Door Lock and Side Window Switches