GM Service Manual Online
For 1990-2009 cars only
Makes
🢒
Chevrolet
🢒
2000
🢒
S10 Pickup - 2WD
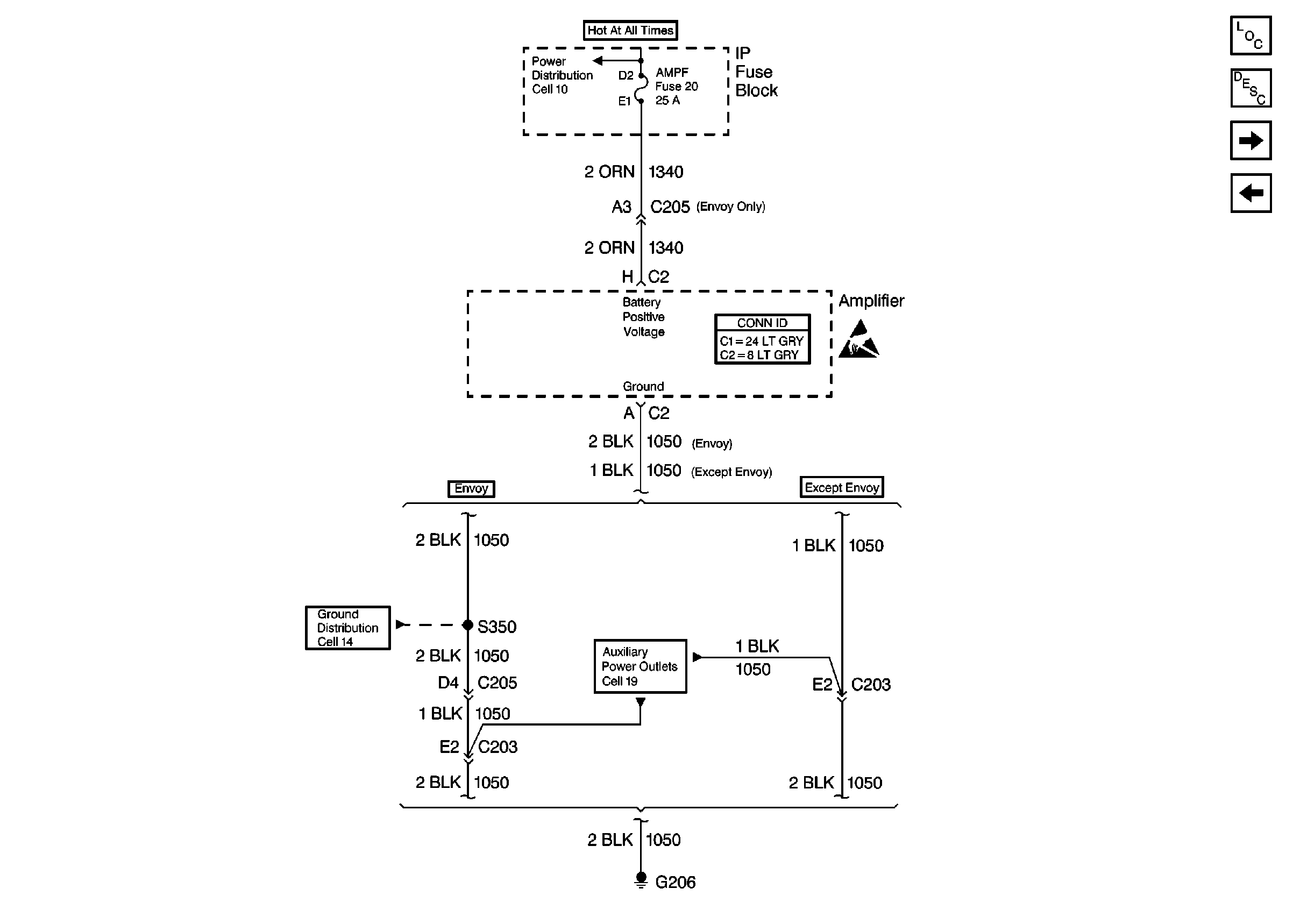
🢒 Cell 150: Amplifier Power and Ground (Chevy/GMC)
Cell 150: Amplifier Power and Ground (Chevy/GMC)
Cell 150: Amplifier Power and Ground (Chevy/GMC)
Entertainment Components
Radio/Audio System Circuit Description
Cell 10: INT BATT Fuse
Entertainment Connector End Views
Handling ESD Sensitive Parts Notice
Cell 150: Amplifier Inputs (Chevy/GMC)
Cell 150: Remote Audio Player (Chevy/GMC)
Cell 19 (Except Envoy)
Cell 14: G206 (Except Base Pickup)