GM Service Manual Online
For 1990-2009 cars only
Makes
🢒
Chevrolet
🢒
2000
🢒
S10 Pickup - 2WD
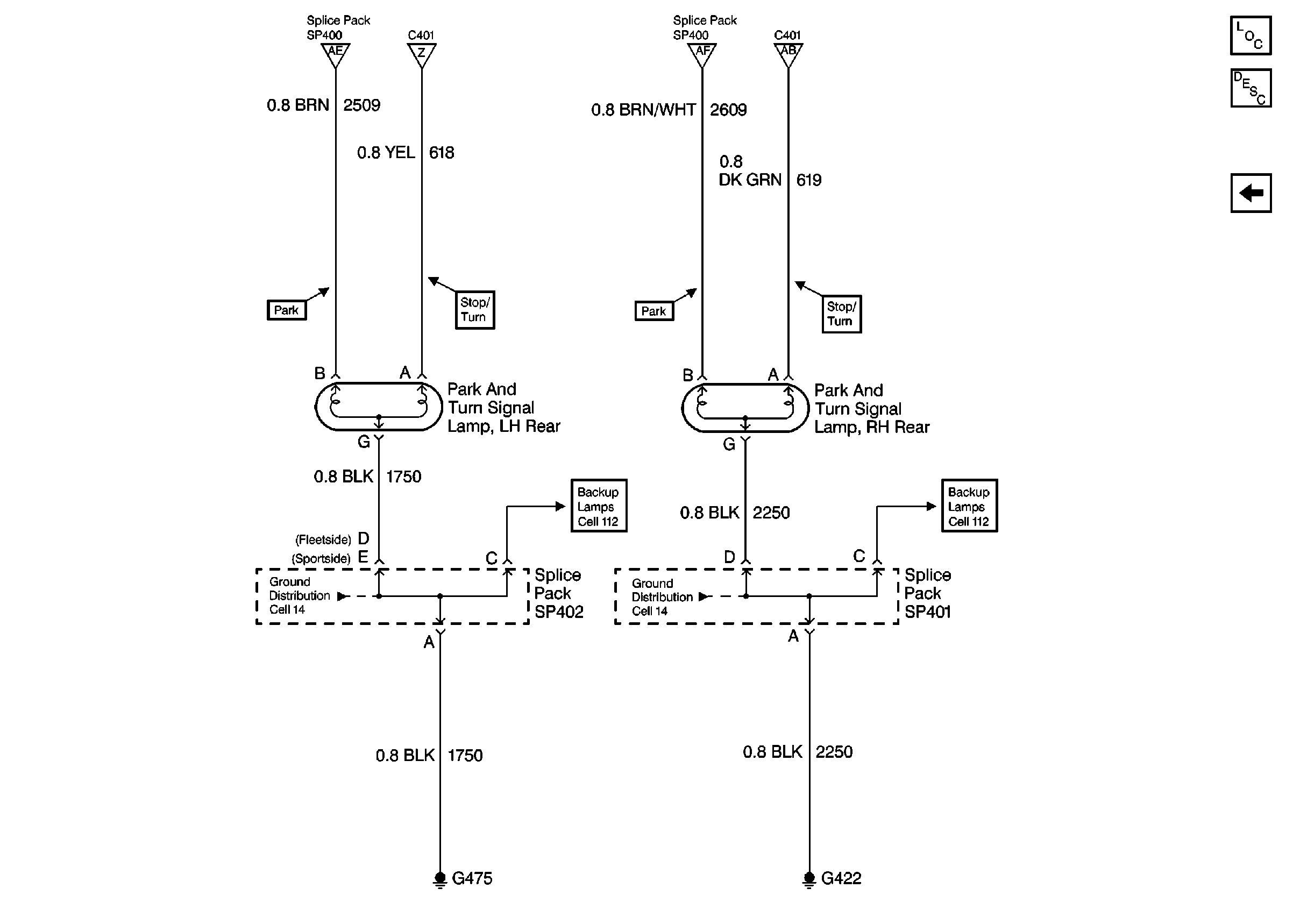
🢒 Cell 110: Park and Turn Signal Lamps (Pickup)
Cell 110: Park and Turn Signal Lamps (Pickup)
Cell 110: Park and Turn Signal Lamps (Pickup)
Cell 110: License and Side Marker Lamps
Cell 110: Front Park and Turn Signal Lamps
Cell 110: License and Side Marker Lamps
Cell 110: Front Park and Turn Signal Lamps
Cell 112 (Pickup)
Cell 112 (Pickup)
Cell 14: G402, G422 and G475 (Fleetside Pickup)
Cell 14: G402, G422 and G475 (Fleetside Pickup)
Lighting Systems Components
Exterior Lights Circuit Description
Cell 110: Park and Turn Signal Lamps (Utility)