GM Service Manual Online
For 1990-2009 cars only
Makes
🢒
Chevrolet
🢒
2000
🢒
S10 Pickup - 2WD
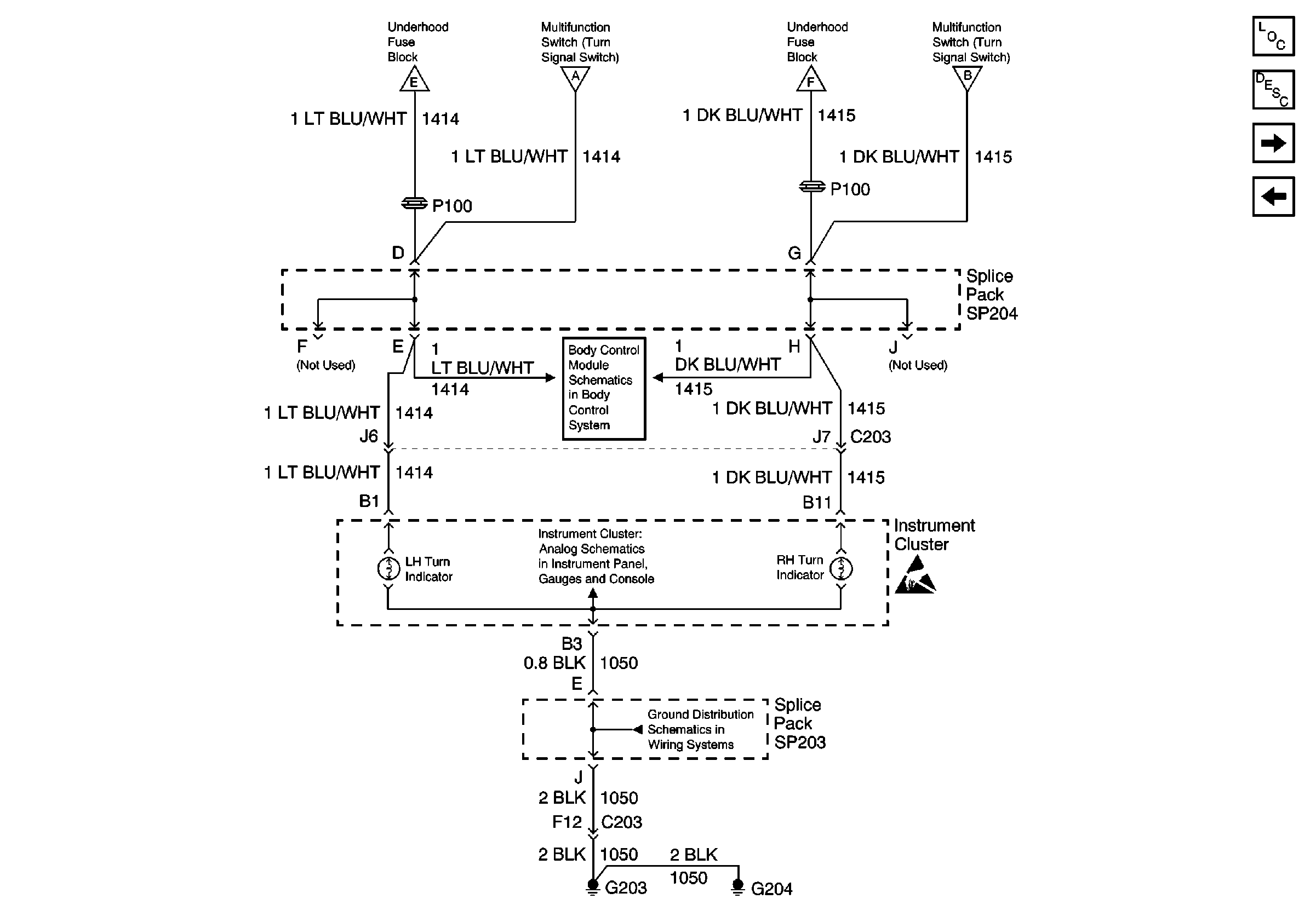
🢒 Instrument Cluster Turn Signal Indicators
Instrument Cluster Turn Signal Indicators
Instrument Cluster Turn Signal Indicators
Lighting Systems Components
Exterior Lights Circuit Description
Turn Signal Lamps (Front) and Turn Signal Fuses (Rear)
High Mount Stoplamp, Multifunction Switch (Turn Signal Switch) and Turn Signal Flasher
Turn Signal Lamps (Front) and Turn Signal Fuses (Rear)
High Mount Stoplamp, Multifunction Switch (Turn Signal Switch) and Turn Signal Flasher
Turn Signal Lamps (Front) and Turn Signal Fuses (Rear)
High Mount Stoplamp, Multifunction Switch (Turn Signal Switch) and Turn Signal Flasher
LT TURN, RT TURN Fuses and Instrument Cluster
Power
Handling ESD Sensitive Parts Notice
G203 and G204