GM Service Manual Online
For 1990-2009 cars only
Makes
🢒
Chevrolet
🢒
2000
🢒
S10 Pickup - 2WD
🢒 ILLUM Fuse 12
ILLUM Fuse 12
ILLUM Fuse 12
Lighting Systems Components
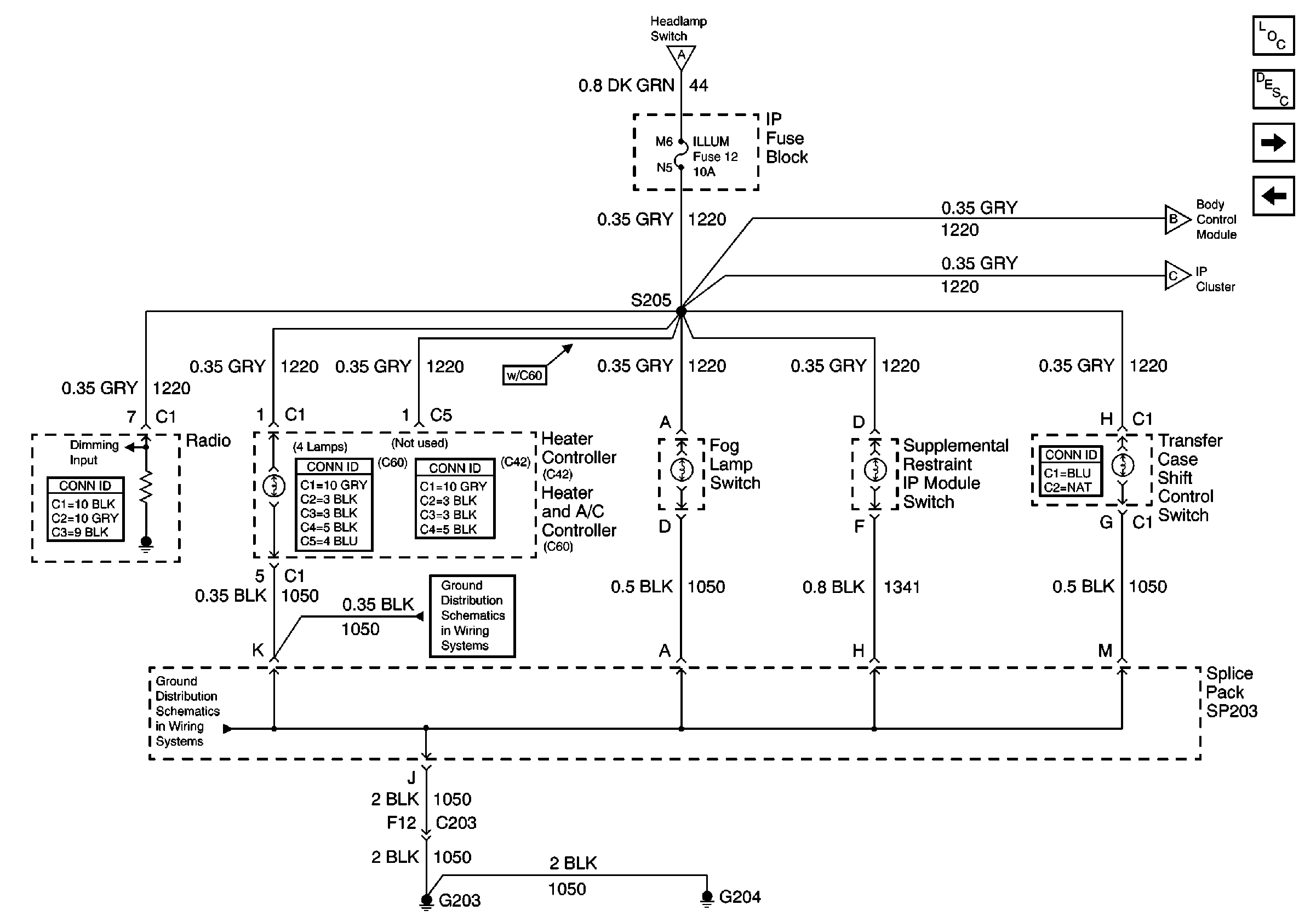
Interior Lights Dimming Circuit Description
Instrument Cluster and BCM
Headlamp Switch
Headlamp Switch
Instrument Cluster and BCM
Entertainment Connector End Views
HVAC Connector End Views
HVAC Connector End Views
Transfer Case Control Connector End Views
G203 and G204
G203 and G204