GM Service Manual Online
For 1990-2009 cars only
Makes
🢒
Chevrolet
🢒
2000
🢒
S10 Pickup - 2WD
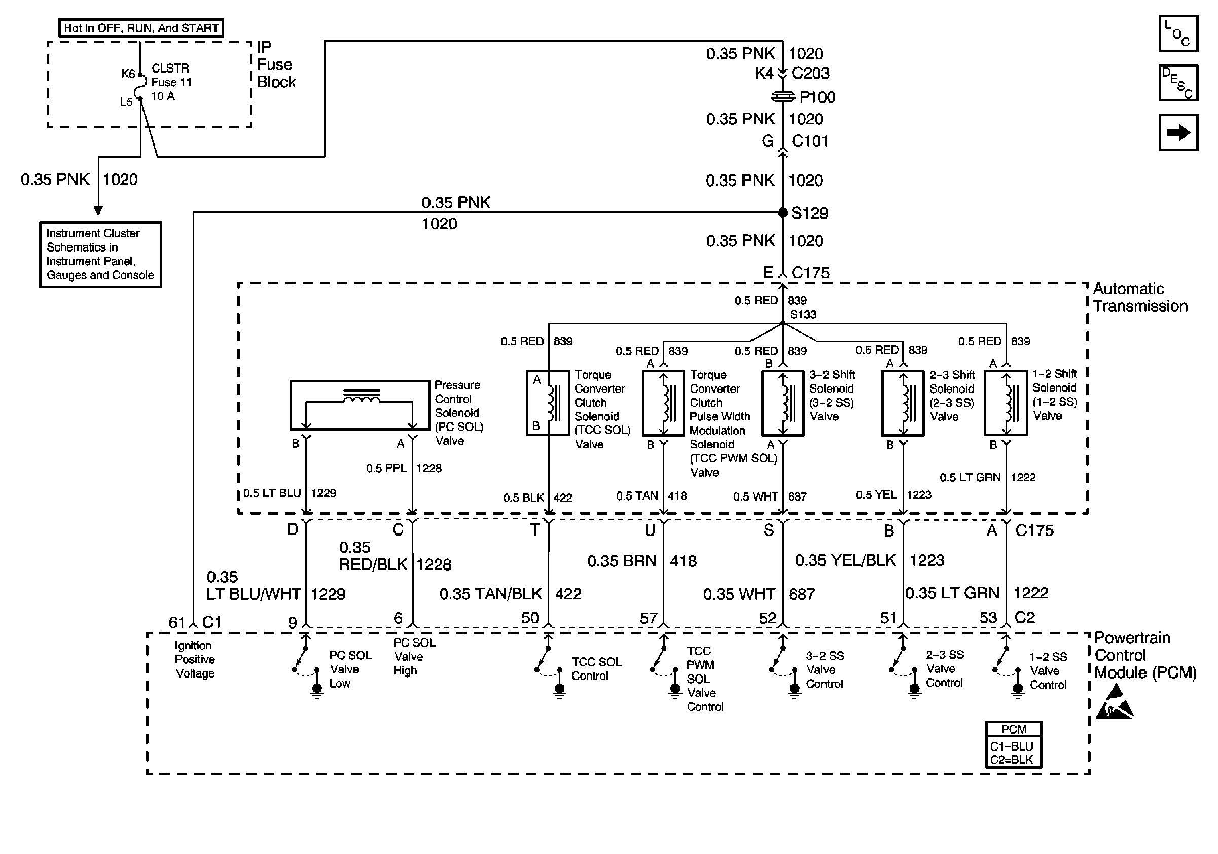
🢒 Valve Controls (2.2L)
Valve Controls (2.2L)
Valve Controls (2.2L)
Automatic Transmission Components
Electronic Component Description
Switch Inputs and PNP Switch (2.2L)
Power
Powertrain Control Module Connector End Views
Handling ESD Sensitive Parts Notice