GM Service Manual Online
For 1990-2009 cars only
Makes
🢒
Chevrolet
🢒
2000
🢒
S10 Pickup - 2WD
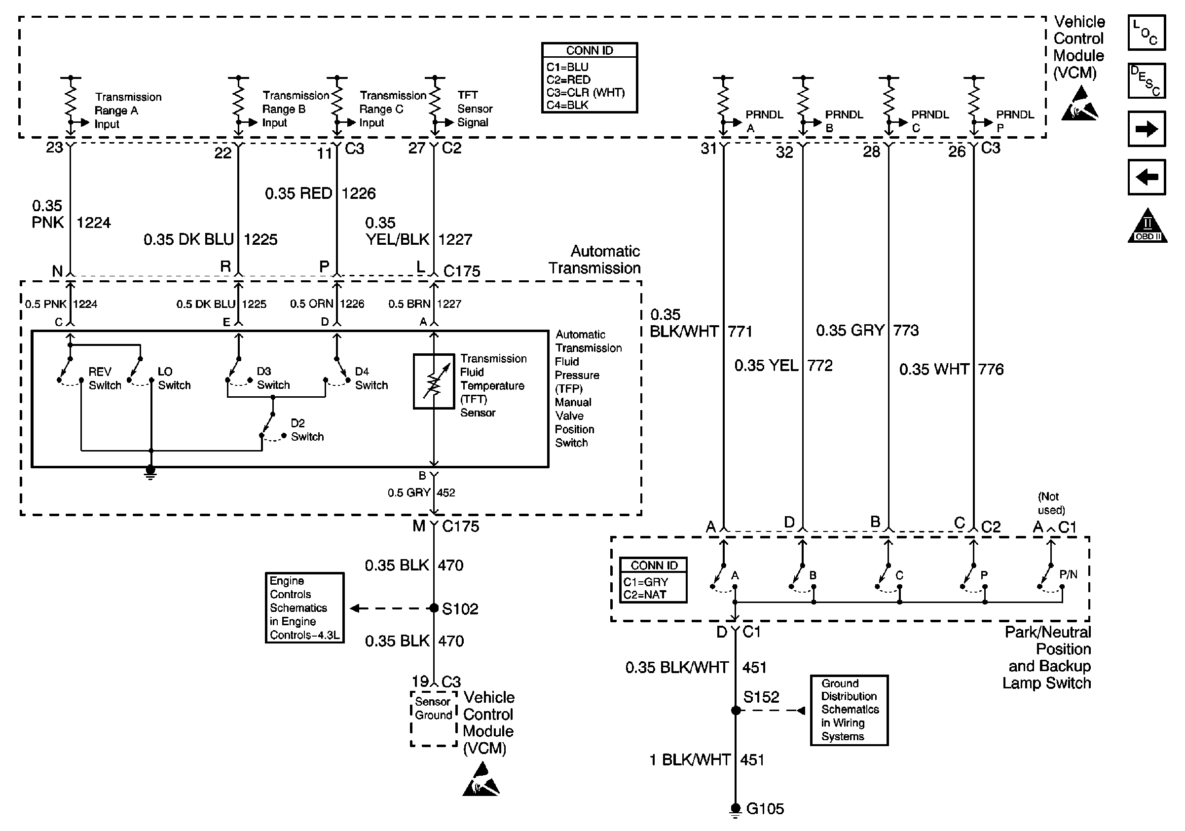
🢒 Switch Inputs and PNP Switch (4.3L)
Switch Inputs and PNP Switch (4.3L)
Switch Inputs and PNP Switch (4.3L)
Automatic Transmission Components
Electronic Component Description
VSS Inputs, 4WD Low Indicator Signal (4.3L)
Valve Controls (4.3L)
OBD II Symbol Description Notice
VCM Connector End Views
Handling ESD Sensitive Parts Notice
Engine Sensors (Pickup)
Handling ESD Sensitive Parts Notice
Shift Lock Control Connector End Views
G103 and G105 (2.2L)