GM Service Manual Online
For 1990-2009 cars only
Makes
🢒
Chevrolet
🢒
2000
🢒
S10 Pickup - 2WD
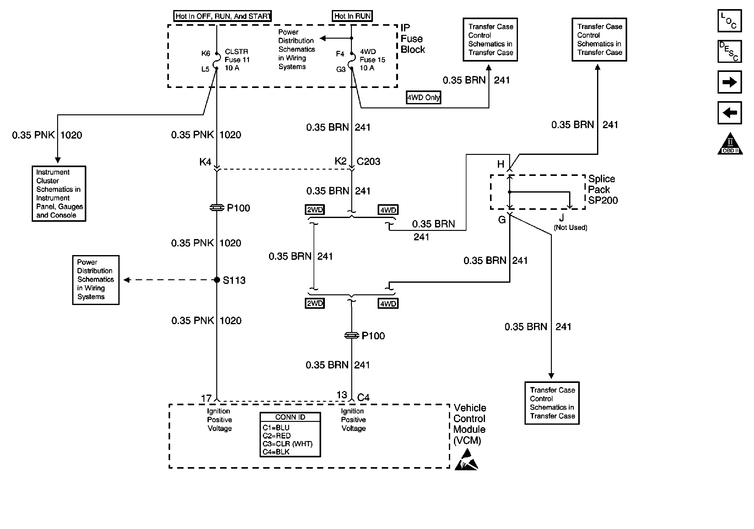
🢒 VCM, CLSTR and 4WD Fuses
VCM, CLSTR and 4WD Fuses
VCM, CLSTR and 4WD Fuses
Engine Controls Components
Vehicle Control Module Description
Data Link Connector (DLC)
ECM B, ECM I and RDO BATT Fuses, Ground, Generator and MIL
OBD II Symbol Description Notice
RAP, IGN B Fuses and Ignition Switch
Transfer Case Shift Control Switch
4WD Indicator Switch and Vehicle Control Module (VCM)
Power
CRANK and CLSTR Fuses
VCM Connector End Views
Handling ESD Sensitive Parts Notice
4WD Indicator Switch and Vehicle Control Module (VCM)