GM Service Manual Online
For 1990-2009 cars only
Makes
🢒
Chevrolet
🢒
2000
🢒
S10 Pickup - 2WD
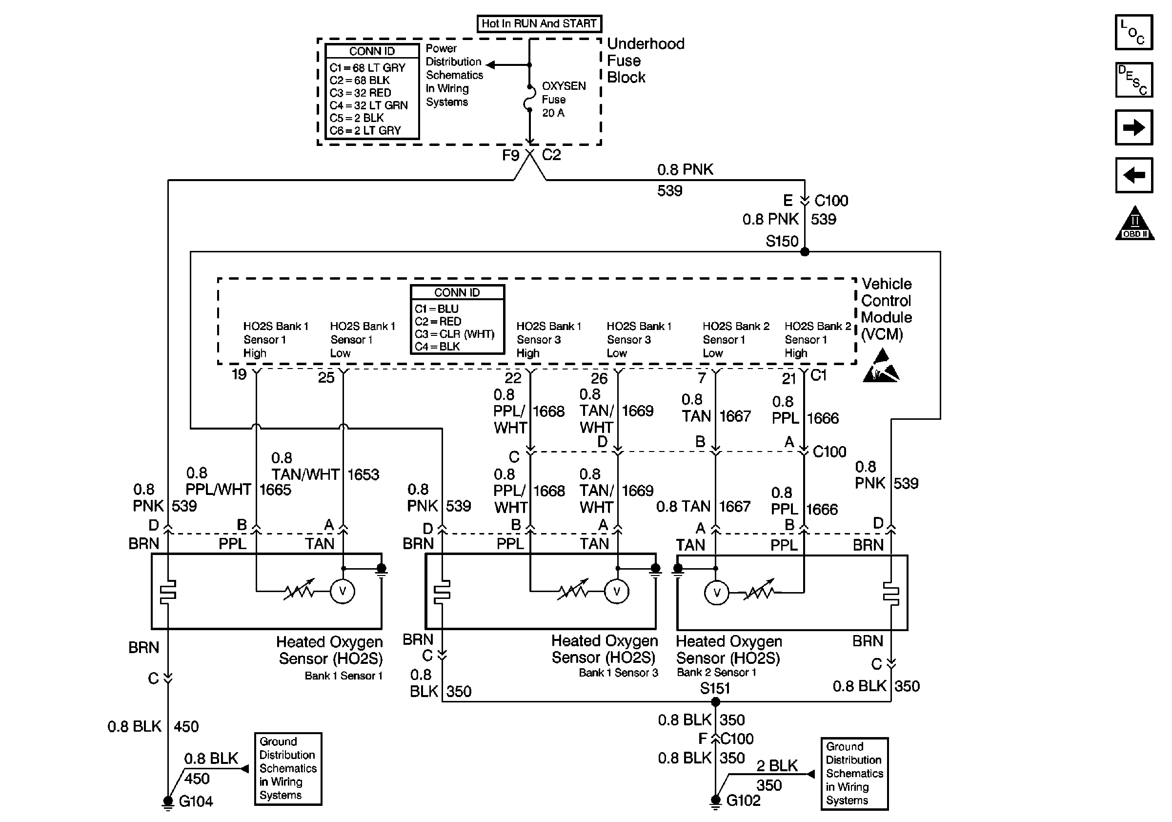
🢒 Heated Oxygen Sensors
Heated Oxygen Sensors
Heated Oxygen Sensors
Engine Controls Components
Information Sensors/Switches Description
MAF Sensor and IAC Valve
Engine Sensors
OBD II Symbol Description Notice
Power and Grounding Connector End Views
IGN C, IGN A Fuses and Ignition and Start Switch
VCM Connector End Views
Handling ESD Sensitive Parts Notice
G104 and G117
G102