GM Service Manual Online
For 1990-2009 cars only
Makes
🢒
Chevrolet
🢒
2000
🢒
S10 Pickup - 2WD
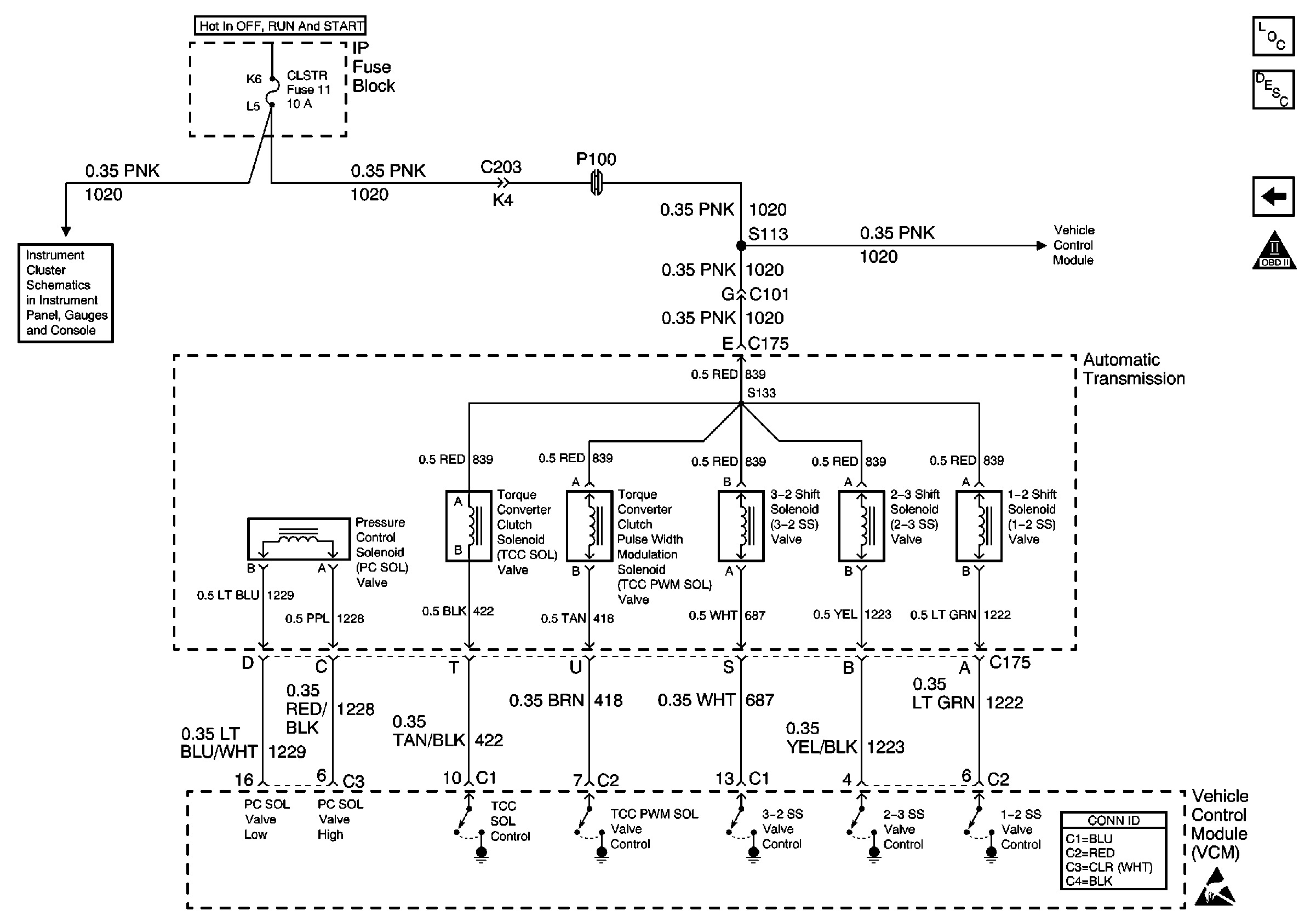
🢒 Automatic Transmission Valve Controls
Automatic Transmission Valve Controls
Automatic Transmission Valve Controls
Engine Controls Components
Vehicle Control Module Description
Automatic Transmission Switch Inputs
OBD II Symbol Description Notice
Power
VCM, CLSTR and 4WD Fuses
VCM Connector End Views
Handling ESD Sensitive Parts Notice