GM Service Manual Online
For 1990-2009 cars only
Makes
🢒
Chevrolet
🢒
2000
🢒
S10 Pickup - 2WD
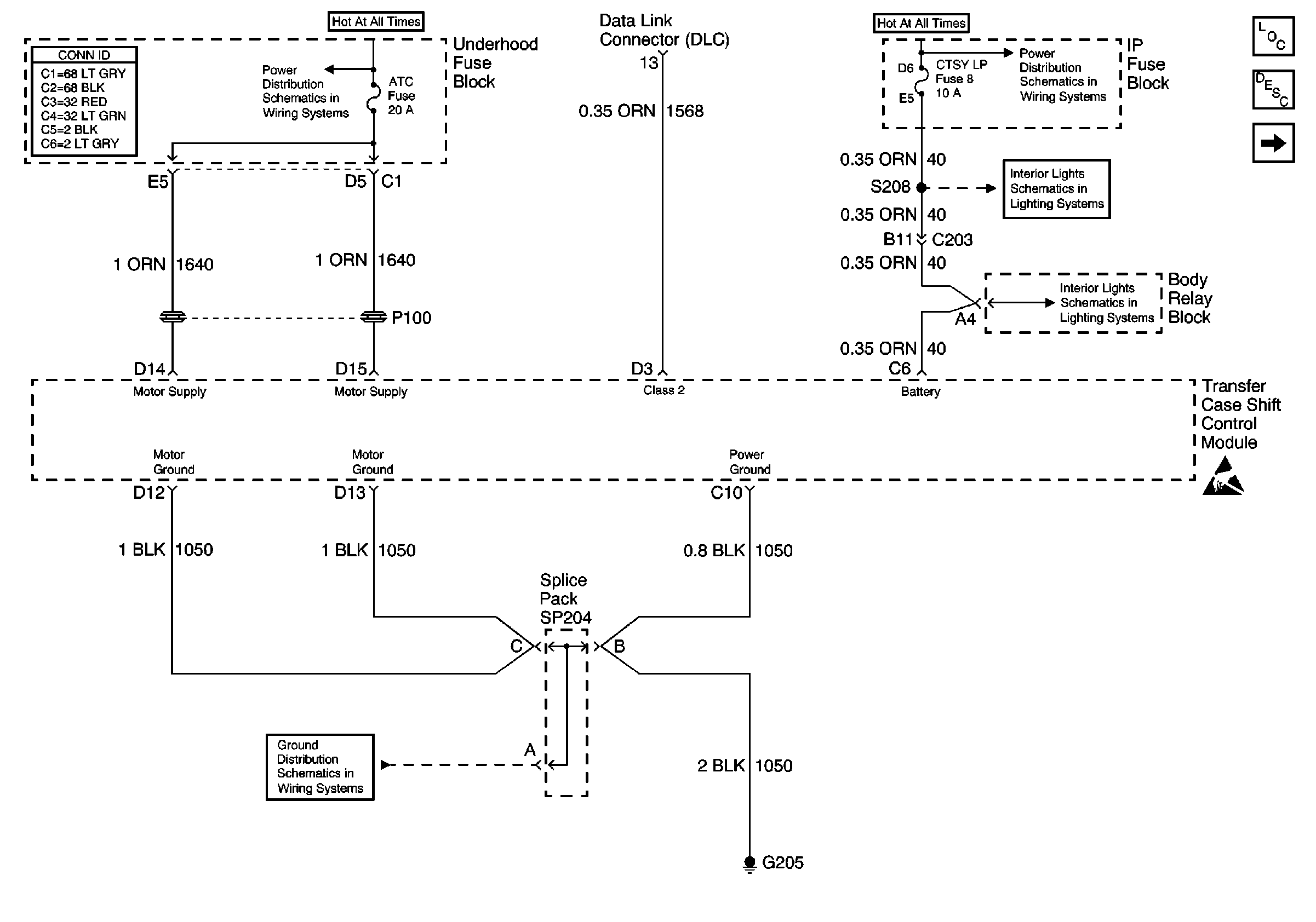
🢒 Power and Ground
Power and Ground
Power and Ground
Transfer Case Control Components
Transfer Case Control Module Description
Electric Shift Transfer Case
Power and Grounding Connector End Views
B+ Bus Bar
INT BATT Fuse
CTSY LP Fuse and Courtesy Lamp Relay
CTSY LP Fuse and Courtesy Lamp Relay
Handling ESD Sensitive Parts Notice
G205 and G206 (Utility)