GM Service Manual Online
For 1990-2009 cars only
Makes
🢒
Chevrolet
🢒
2000
🢒
S10 Pickup - 2WD
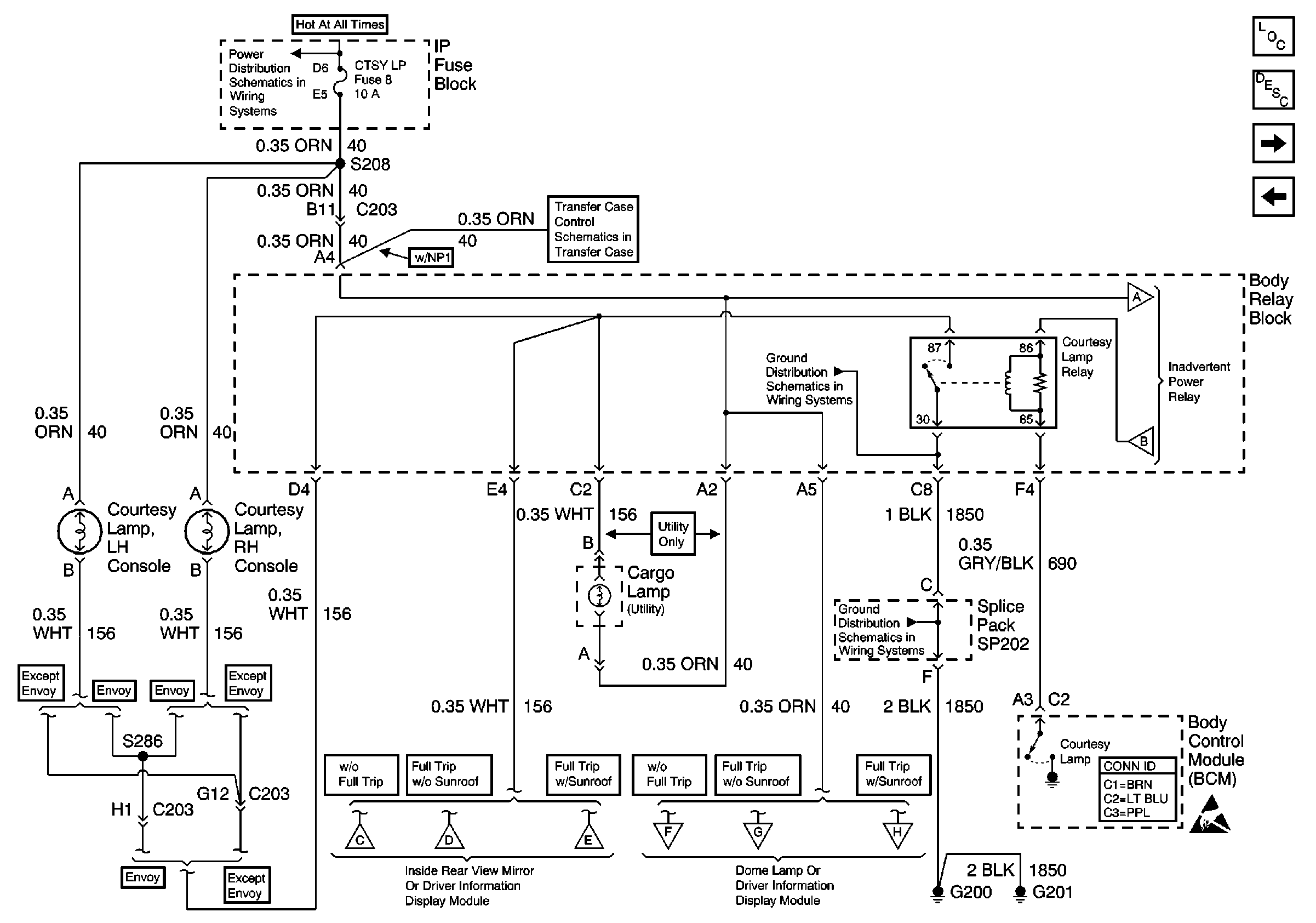
🢒 CTSY LP Fuse and Courtesy Lamp Relay
CTSY LP Fuse and Courtesy Lamp Relay
CTSY LP Fuse and Courtesy Lamp Relay
Lighting Systems Components
Interior Lights Circuit Description
Front Door Jamb and Door Handle Switches
Headlamp Switch
INT BATT Fuse
Power and Ground
G200, G201 and G207 (Utility)
Inadvertent Power Relay
G200, G201 and G207 (Utility)
Body Control System Connector End Views
Handling ESD Sensitive Parts Notice
Inside Rear View Mirror or Driver Information Display Module
Driver Information Display Module (Utility w/o Sunroof)
Driver Information Display Module (Utility w/ Sunroof)
Inside Rear View Mirror or Driver Information Display Module
Driver Information Display Module (Utility w/o Sunroof)
Driver Information Display Module (Utility w/ Sunroof)