GM Service Manual Online
For 1990-2009 cars only
Makes
🢒
Chevrolet
🢒
2000
🢒
S10 Pickup - 2WD
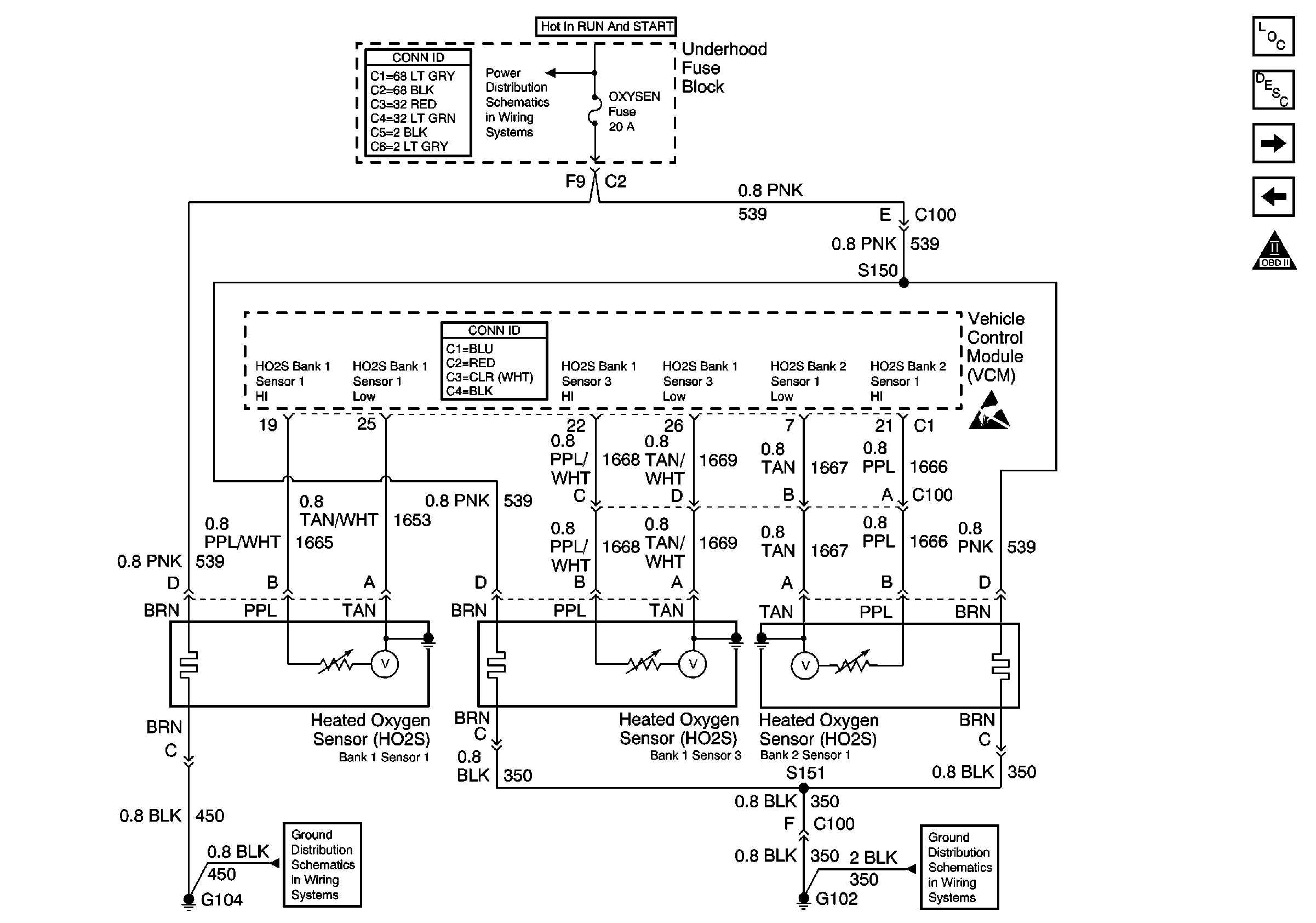
🢒 Heated Oxygen Sensors
Heated Oxygen Sensors
Heated Oxygen Sensors
Engine Controls Components
Information Sensors/Switches Description
MAF Sensor and IAC Valve
Engine Sensors (Utility)
OBD II Symbol Description Notice
Power and Grounding Connector End Views
Ign RUN and START Bus Bar
VCM Connector End Views
Handling ESD Sensitive Parts Notice
G104 and G117
G102 (Except Export)