GM Service Manual Online
For 1990-2009 cars only
Makes
🢒
Chevrolet
🢒
2000
🢒
S10 Pickup - 2WD
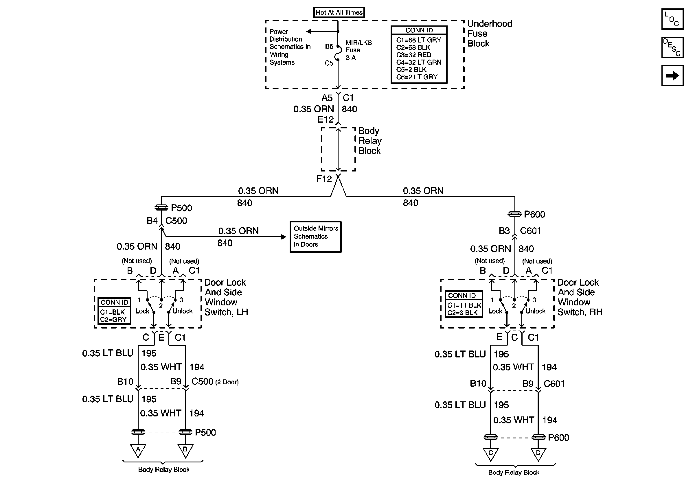
🢒 Door Lock Switch Inputs
Door Lock Switch Inputs
Door Lock Switch Inputs
Power Door Systems Components
Power Door Locks Circuit Description
Relay Control and Door Lock Actuators
MIR/LKS, FOG LP, LT HDLP, and RT HDLP Fuses
Power and Grounding Connector End Views
Power Door Systems Connector End Views
Outside Rear View Mirror Switch
Power Door Systems Connector End Views
Relay Control and Door Lock Actuators
Relay Control and Door Lock Actuators