GM Service Manual Online
For 1990-2009 cars only
Makes
🢒
Chevrolet
🢒
2000
🢒
S10 Pickup - 2WD
🢒 ILLUM Power (Utility)
ILLUM Power (Utility)
ILLUM Power (Utility)
Power and Grounding Components
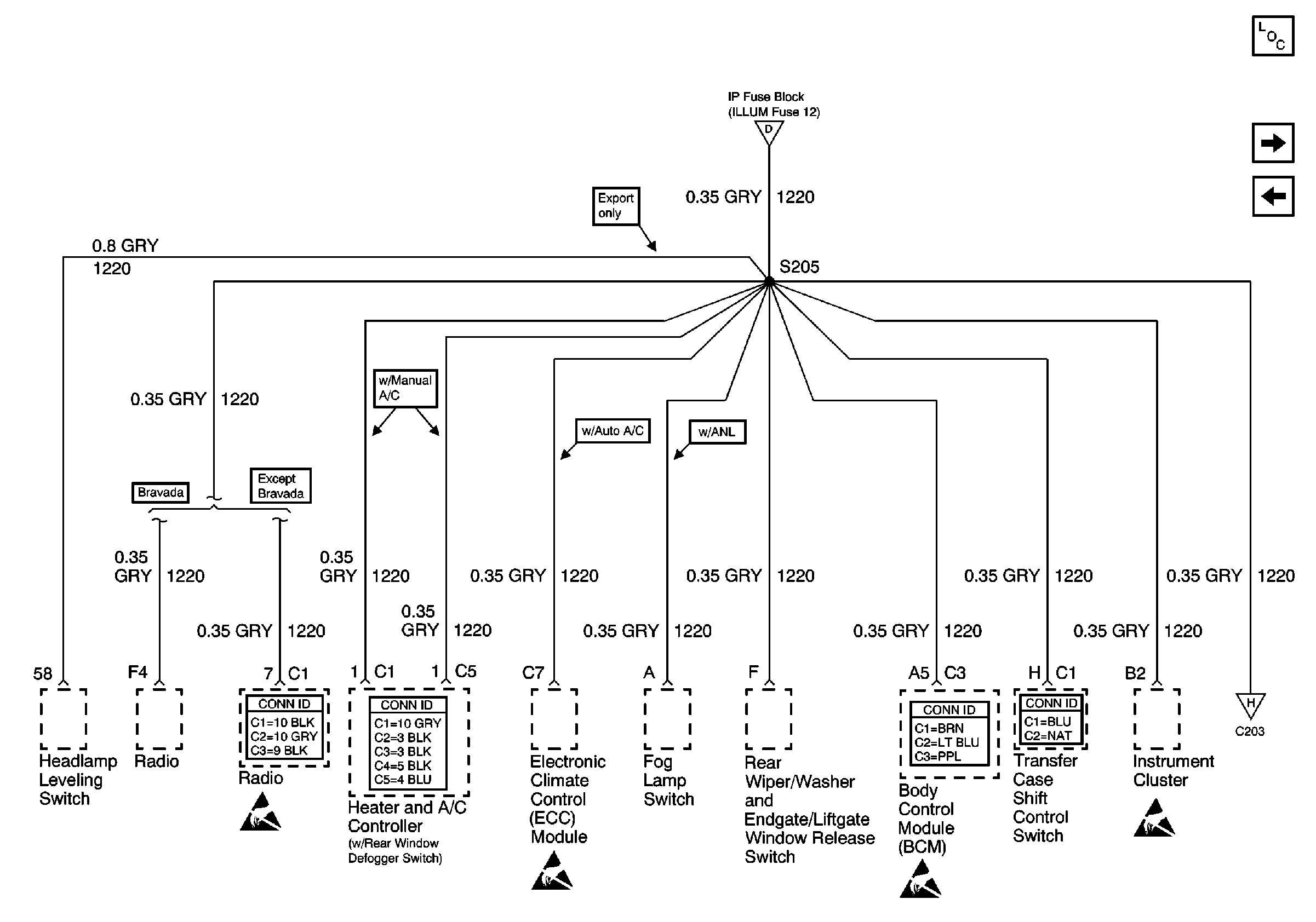
ILLUM Power (2-Door and 4-Door Utility)
ILLUM Power (Pickup)
ILLUM and PARK LP Fuses
Entertainment Connector End Views
Handling ESD Sensitive Parts Notice
HVAC Connector End Views
Handling ESD Sensitive Parts Notice
Body Control System Connector End Views
Handling ESD Sensitive Parts Notice
Transfer Case Control Connector End Views
Handling ESD Sensitive Parts Notice
ILLUM Power (2-Door and 4-Door Utility)