GM Service Manual Online
For 1990-2009 cars only
Makes
🢒
Chevrolet
🢒
2000
🢒
S10 Pickup - 2WD
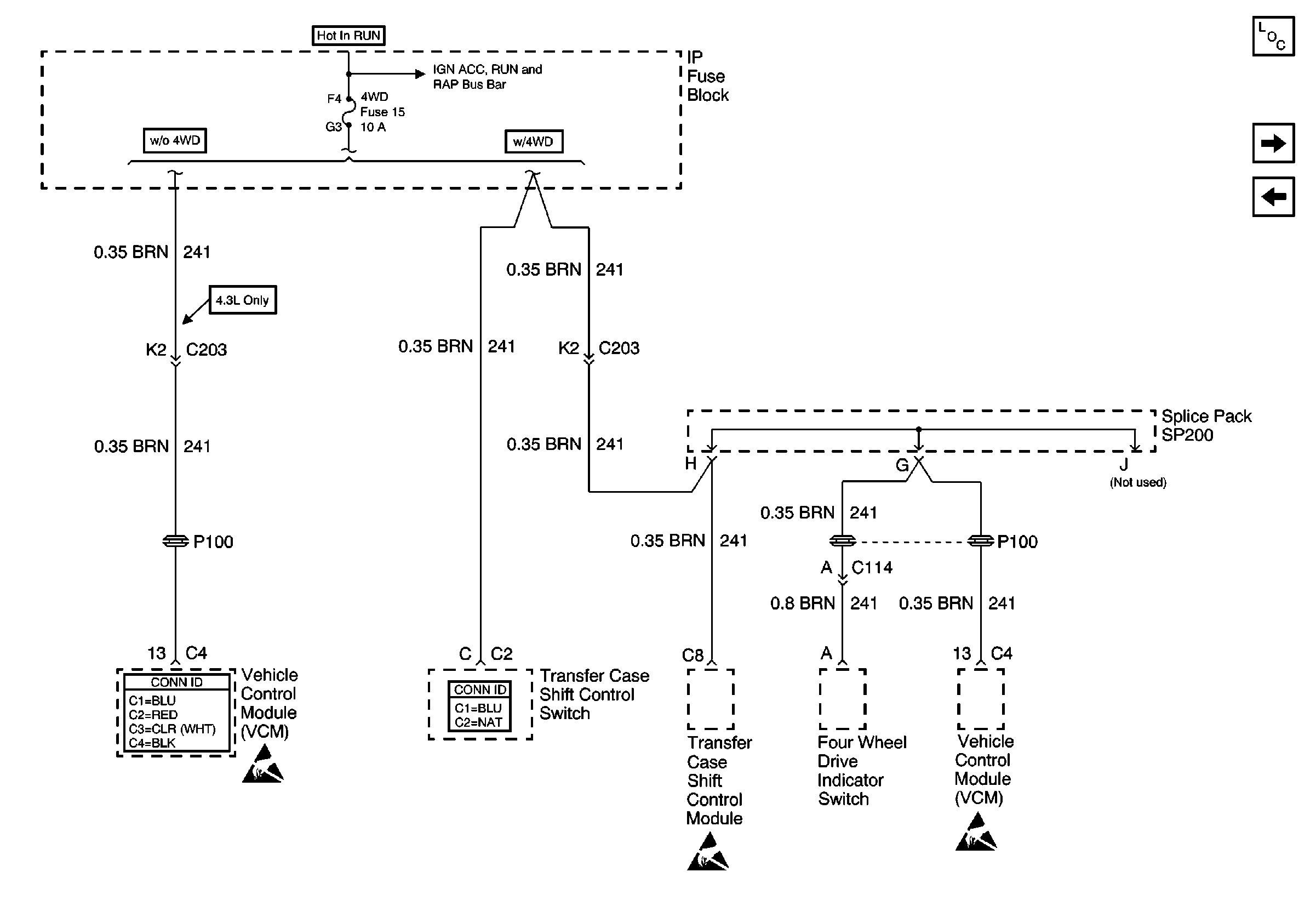
🢒 4WD Fuse
4WD Fuse
4WD Fuse
Power and Grounding Components
HVAC and CRUISE Fuses
HVAC I, FRT WPR and ABS Fuses
RAP, IGN B Fuses and Ignition Switch
VCM Connector End Views
Handling ESD Sensitive Parts Notice
Transfer Case Control Connector End Views
Handling ESD Sensitive Parts Notice
Handling ESD Sensitive Parts Notice