GM Service Manual Online
For 1990-2009 cars only
Makes
🢒
Chevrolet
🢒
2000
🢒
S10 Pickup - 2WD
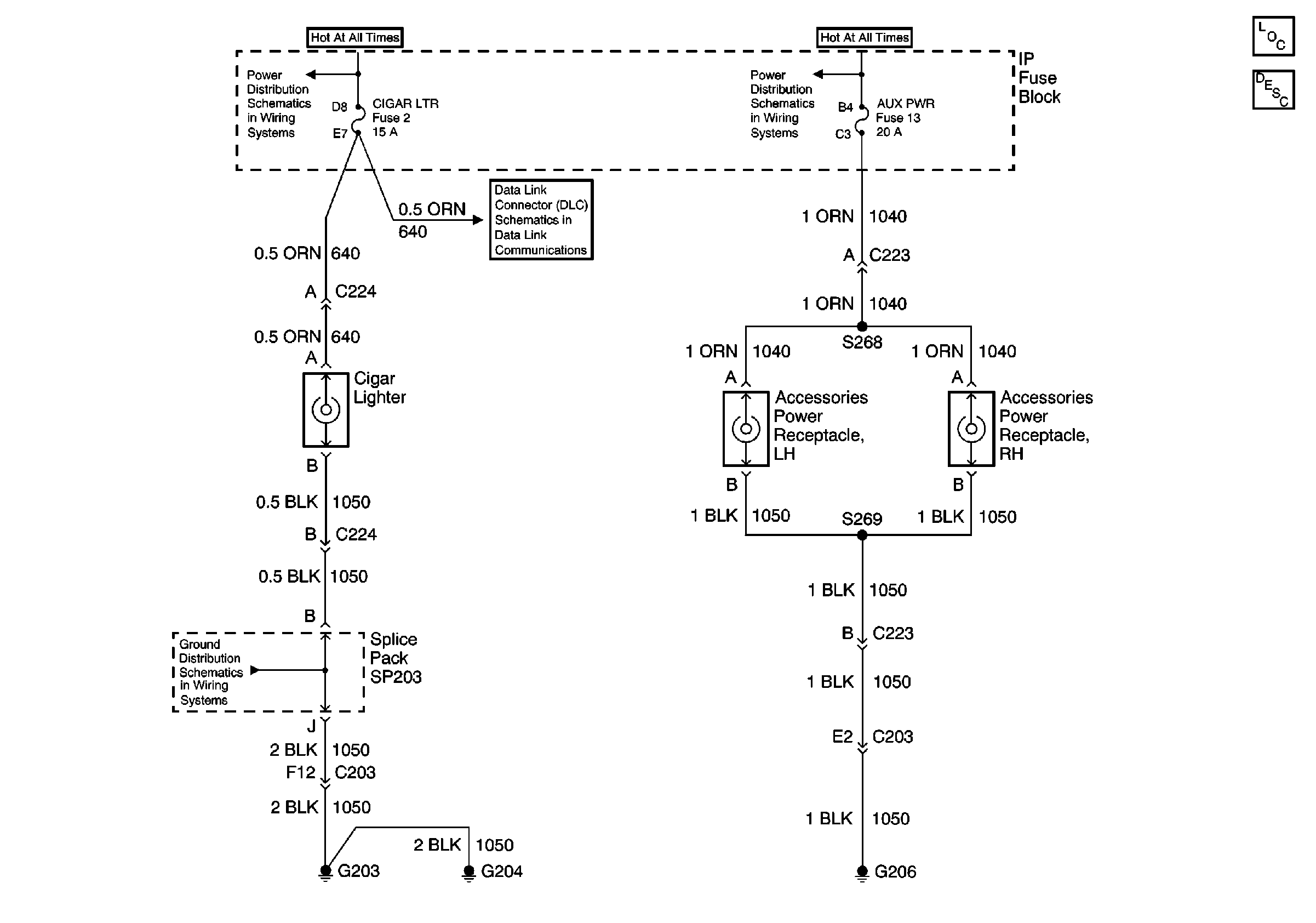
🢒 Cigar Lighter/Auxiliary Outlets Schematics
Cigar Lighter/Auxiliary Outlets Schematics
Power and Grounding Components
Cigar Lighter/Auxiliary Outlet Circuit Description
INT BATT, PWR LKS, CTSY LP and CIGAR LTR Fuses
AUX PWR, RDO BATT, HDLP SW Fuses and Inadvertent Power Lamp Relay
Power and Ground
G203 and G204