GM Service Manual Online
For 1990-2009 cars only
Makes
🢒
Chevrolet
🢒
2000
🢒
S10 Pickup - 2WD
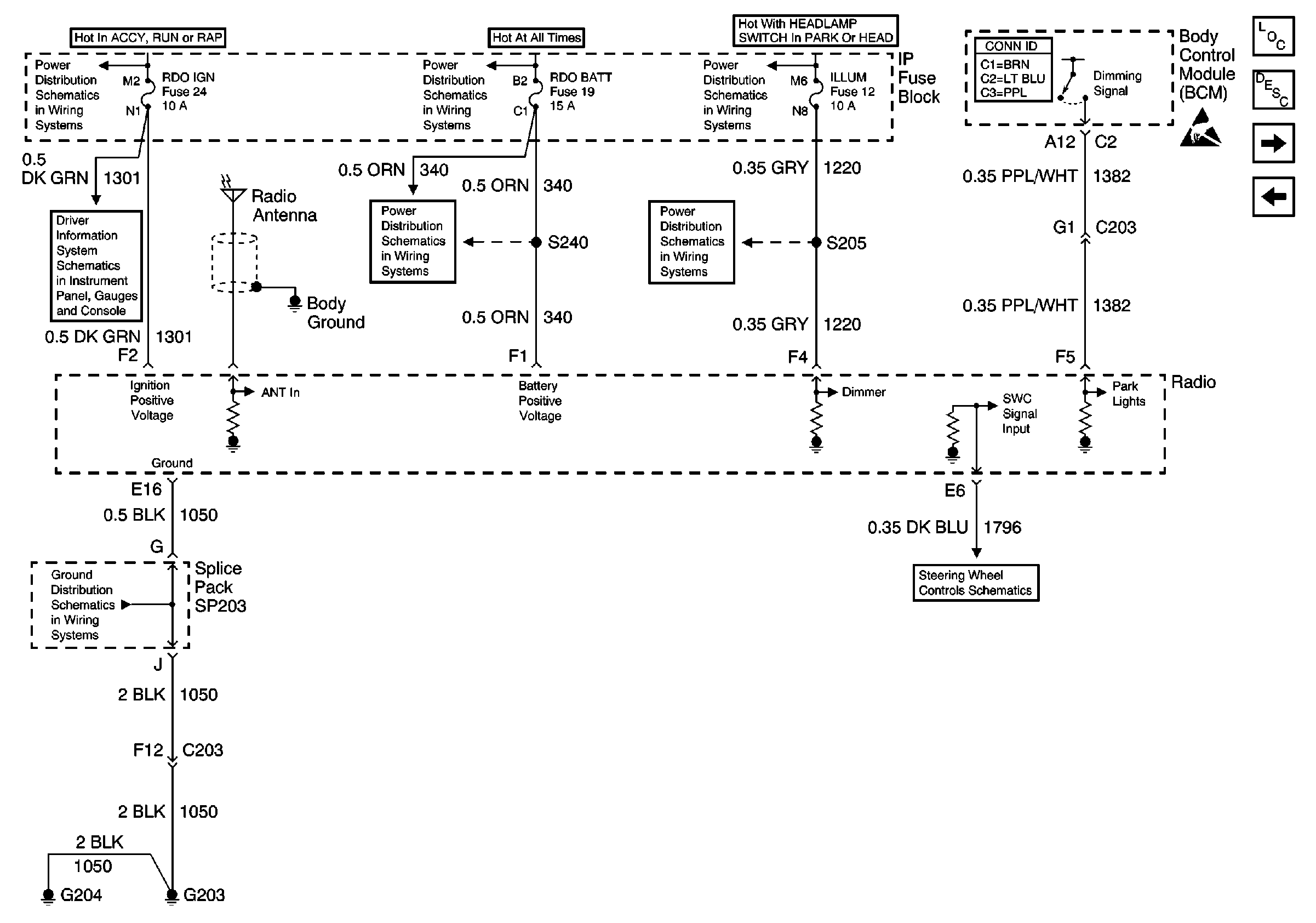
🢒 Radio Power and Ground (w/ Amplifier - Bravada)
Radio Power and Ground (w/ Amplifier - Bravada)
Radio Power and Ground (w/ Amplifier -- Bravada)
Entertainment Components
Radio/Audio System Circuit Description
Remote Tape/CD Player (Bravada)
Radio Power and Ground and Speakers (w/o Amplifier - Bravada)
Ign ACC, RUN and RAP Bus Bar
AUX PWR, RDO BATT and HDLP SW Fuses
ILLUM and PARK LP Fuses
Body Control System Connector End Views
Handling ESD Sensitive Parts Notice
Power and Ground (w/ Trip Computer)
AUX PWR, RDO BATT and HDLP SW Fuses
AUX PWR, RDO BATT and HDLP SW Fuses
G203 and G204 (Pickup)
Steering Wheel Controls Schematics