GM Service Manual Online
For 1990-2009 cars only
Makes
🢒
Chevrolet
🢒
2000
🢒
S10 Pickup - 2WD
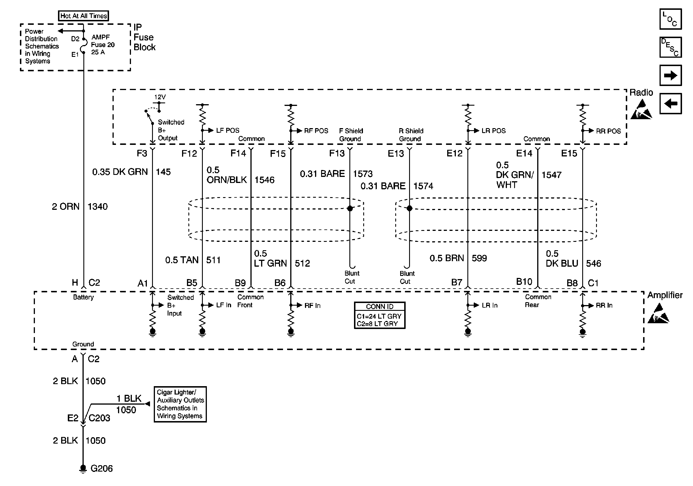
🢒 Amplifier Power and Ground and Inputs (Bravada)
Amplifier Power and Ground and Inputs (Bravada)
Amplifier Power and Ground and Inputs (Bravada)
Entertainment Components
Radio/Audio System Circuit Description
Amplifier, Left Channel Output (Bravada)
Remote Tape/CD Player (Bravada)
INT BATT Fuse
Handling ESD Sensitive Parts Notice
Except Envoy
Entertainment Connector End Views
Handling ESD Sensitive Parts Notice